EasyManua.ls Logo

GE GSMF2LEB - Page 65

GE GSMF2LEB
86 pages
Go to English
Print Icon
To Next Page IconTo Next Page
To Next Page IconTo Next Page
To Previous Page IconTo Previous Page
To Previous Page IconTo Previous Page
Loading...
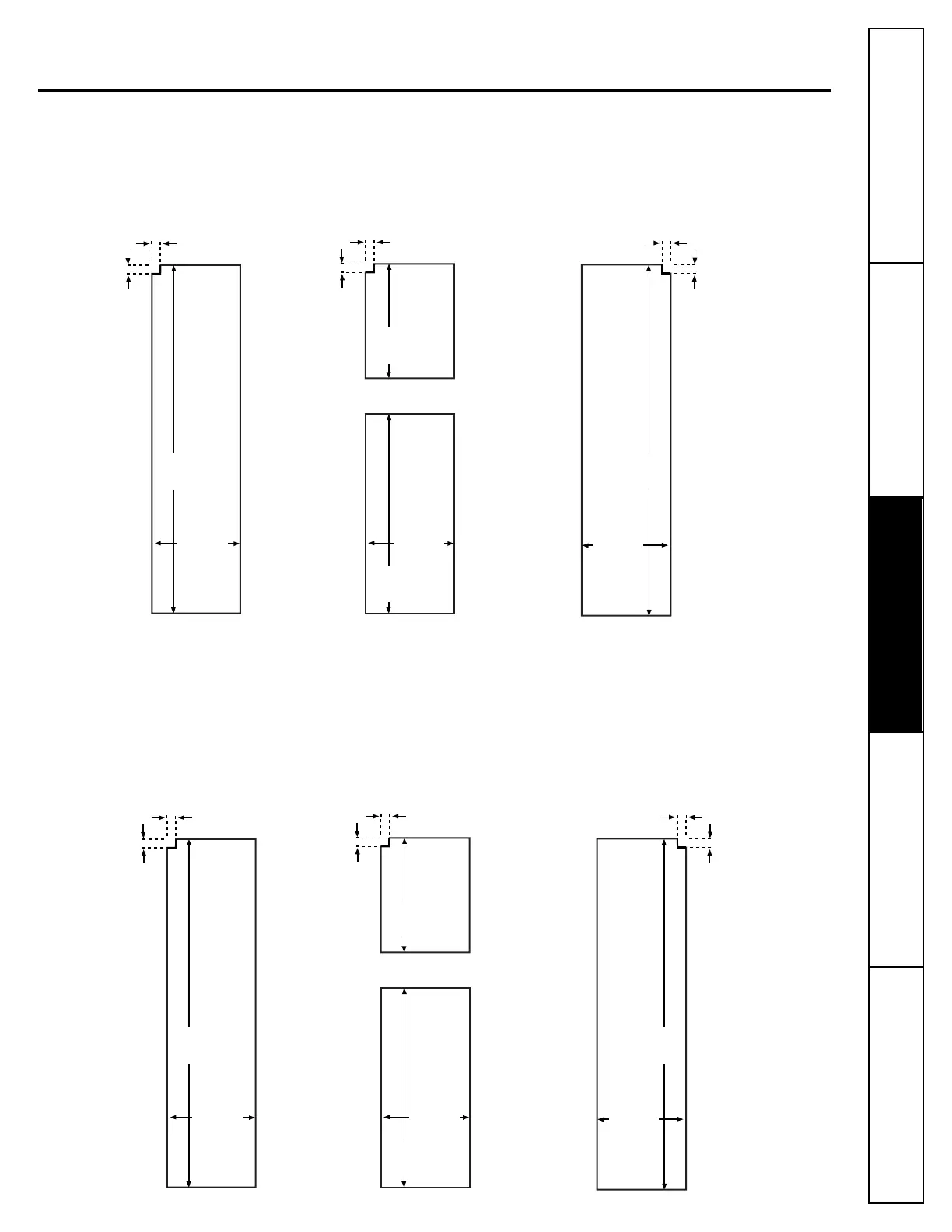
Trim kits and decorator panels.
Freezer Panel
Without Dispenser
Freezer Panel
With Dispenser Fresh Food Panel
Cutout
5/16
"
(8 mm)
14
15
32"
(36.8 cm)
67
9
32
"
(170.9 cm)
1/8
"
(3 mm)
FRONT
17
7
8
"
(45.4 cm)
14
15
32
"
(36.8 cm)
33
5
8
"
(85.4 cm)
FRONT
67
9
32
"
(170.9 cm)
19
15
32
"
(49.5 cm)
FRONT
23‘ Dimensions for Custom Wood Panels
The areas at the top of the panels need to be cut out of the panels.
25‘
CustomStyle
Dimensions for Custom Wood Panels
The areas at the top of the panels need to be cut out of the panels.
Cutout
1/8
"
(3 mm)
Cutout
1/8
"
(3 mm)
5/16
"
(8 mm)
5/16
"
(8 mm)
Freezer Panel
Without Dispenser
Freezer Panel
With Dispenser Fresh Food Panel
Cutout
5/16
"
(8 mm)
14
15
32
"
(36.8 cm)
69
(175.3 cm)
1/8
"(3 mm)
FRONT
17"
(43.2 cm)
14
15
32
"
(36.8 cm)
36
1
4
"
(92.0 cm)
FRONT
69"
(175.3 cm)
19
15
32
"
(49.5 cm)
FRONT
Cutout
1/8
"(3 mm)
Cutout
1/8"(3 mm)
5/16
"
(8 mm)
5/16
"
(8 mm)
Consumer SupportTroubleshooting TipsOperating Instructions
Safety Instructions
Installation Instructions
63

Table of Contents

Related product manuals