EasyManua.ls Logo

GE GUD27 - Washer Capacity and Storage; Washer Capacity Guide; Appliance Care When Not in Use

GE GUD27
20 pages
Print Icon
To Next Page IconTo Next Page
To Next Page IconTo Next Page
To Previous Page IconTo Previous Page
To Previous Page IconTo Previous Page
Loading...
5
GEAppliances.com
WHEN NOT IN USE
n Turn off water faucets to minimize leakage if a break or
rupture should occur. Check the condition of the fill hoses;
GE recommends changing the hoses every 5 years.
SAVE THESE INSTRUCTIONS
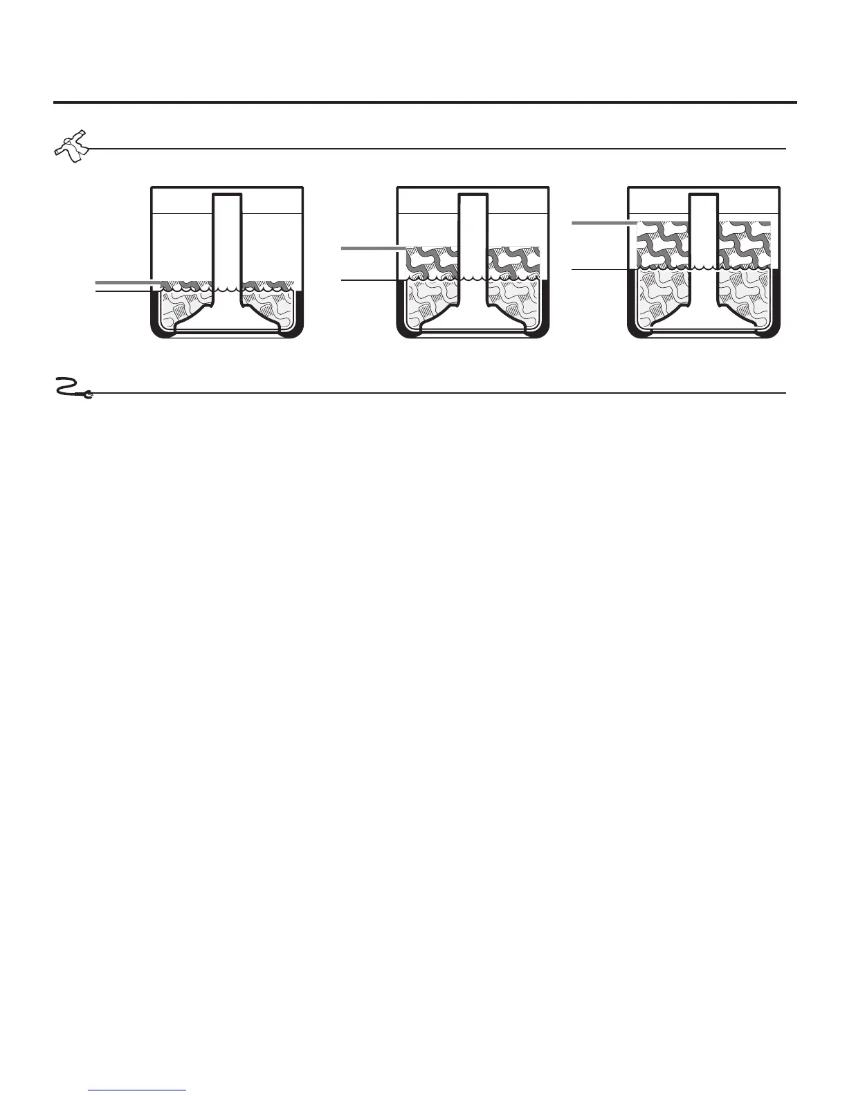
WASHER CAPACITY:
water
level
clothes
water
level
clothes
water
level
clothes
Average Small Load Average Medium Load Average Large Load

Related product manuals