EasyManua.ls Logo

GE MLSH041 - Page 19

GE MLSH041
26 pages
Print Icon
To Next Page IconTo Next Page
To Next Page IconTo Next Page
To Previous Page IconTo Previous Page
To Previous Page IconTo Previous Page
Loading...
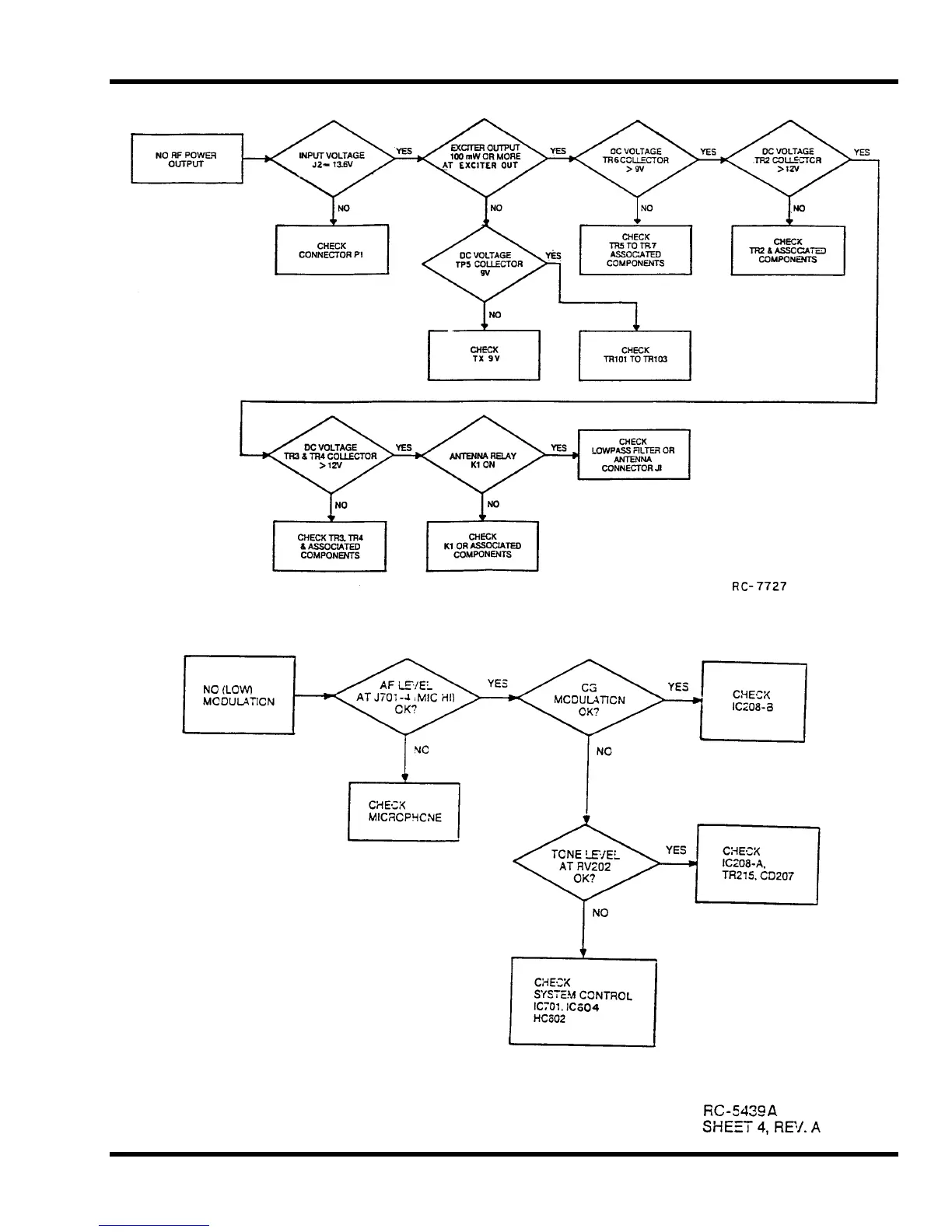
ALIGNMENT AND TROUBLESHOOTING PROCEDURES
LBI-38438A 19