EasyManua.ls Logo

Glo-warm FB-20BB - Checking Gas Connections

Glo-warm FB-20BB
24 pages
Print Icon
To Next Page IconTo Next Page
To Next Page IconTo Next Page
To Previous Page IconTo Previous Page
To Previous Page IconTo Previous Page
Loading...
10
105569
BLUE FLAME PROPANE/LP GAS HEATER
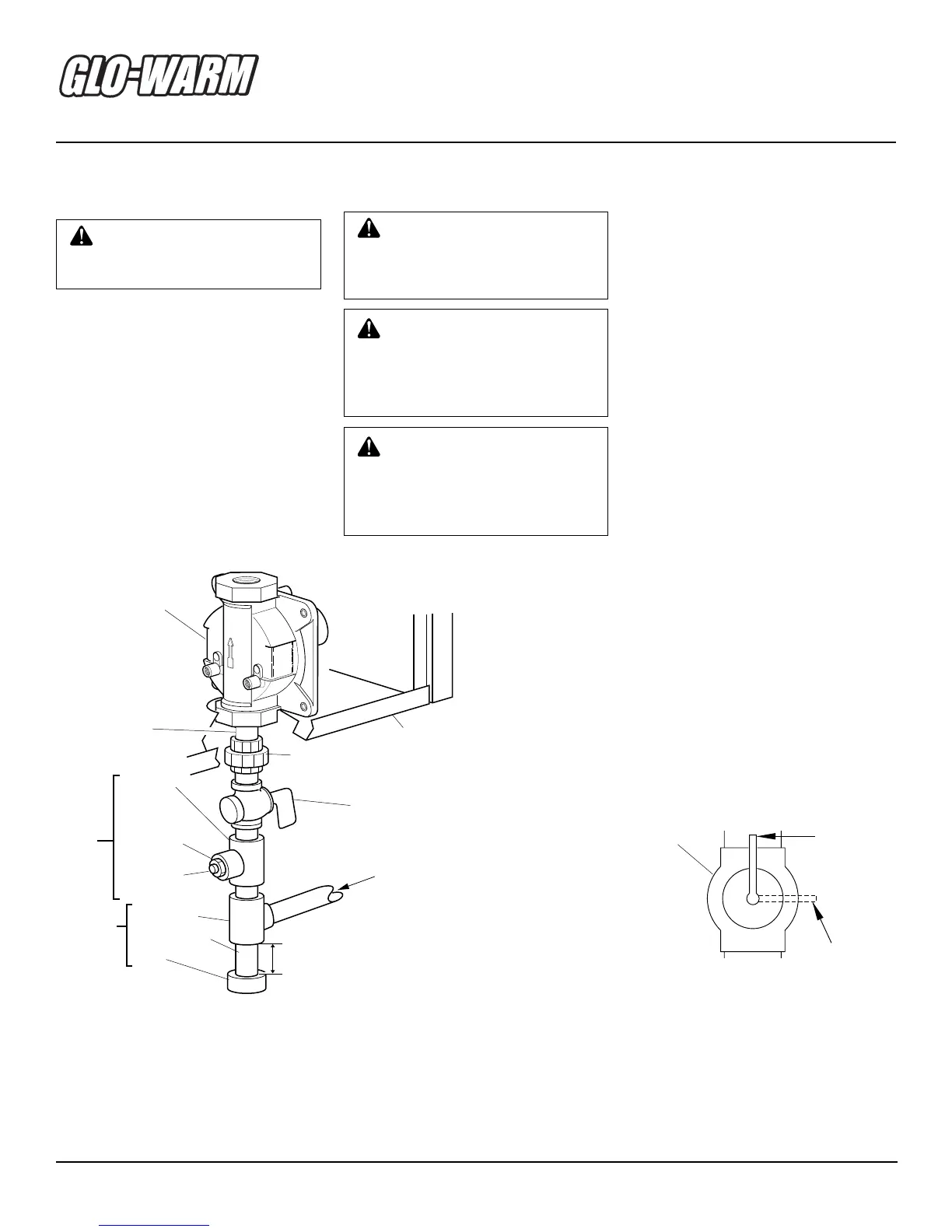
Figure 14 - Manual Shutoff Valve
Manual
Shutoff
Valve
Closed
WARNING: Test all gas pip-
ing and connections for leaks
after installation or servicing.
Correct all leaks at once.
WARNING: Never use an open
flame to check for a leak. Apply a
mixture of liquid soap and water
to all joints. Bubbles forming show
a leak. Correct all leaks at once.
Pressure Testing Gas Supply
Piping System
Test Pressures In Excess Of 1/2 PSIG
1. Disconnect heater and its individual
manual shutoff valve from gas supply
piping system. Pressures in excess of
1/2 psig will damage heater regulator.
2. Cap off open end of gas pipe where
manual shutoff valve was connected.
3. Pressurize supply piping system by ei-
ther using compressed air or opening
propane supply tank valve.
4. Check all joints of gas supply piping
system. Apply mixture of liquid soap
and water to gas joints. Bubbles form-
ing show a leak.
5. Correct all leaks at once.
6. Reconnect heater and manual shutoff
valve to gas supply. Check reconnected
fittings for leaks.
Test Pressures Equal To or Less Than
1/2 PSIG
1. Close manual shutoff valve (see Fig-
ure 14).
2. Pressurize supply piping system by ei-
ther using compressed air or opening
propane supply tank valve.
3. Check all joints from propane supply
tank to manual shutoff valve (see Fig-
ure 15, page 11). Apply mixture of liq-
uid soap and water to gas joints.
Bubbles forming show a leak.
4. Correct all leaks at once.
CHECKING GAS
CONNECTIONS
Open
Install sediment trap in supply line as shown
in Figure 13. Locate sediment trap where it
is within reach for cleaning. Locate sedi-
ment trap where trapped matter is not likely
to freeze. A sediment trap traps moisture
and contaminants. This keeps them from
going into heater controls. If sediment trap
is not installed or is installed wrong, heater
may not run properly.
IMPORTANT:
Hold pressure regulator with
wrench when connecting it to gas piping
and/or fittings.
CAUTION: Use pipe joint seal-
ant that is resistant to liquid pe-
troleum (LP) gas.
Figure 13 - Gas Connection
* An A.G.A. design-certified manual shutoff valve with 1/8" NPT tap is an acceptable
alternative to test gauge connection. Purchase the optional A.G.A. design-certified manual
shutoff valve from your dealer. See Accessories, page 19.
INSTALLATION
Continued
Tee Joint
Pipe Nipple
Cap
Pressure
Regulator
Test
Gauge
3/8" NPT
Pipe Nipple
Sediment
Trap
3" Minimum
From External
Regulator
(11" W.C. to
14" W.C.
Pressure)
Heater
Cabinet
Ground Joint
Union
Tee Joint
Reducer
Bushing to
1/8" NPT
1/8" NPT
Plug Tap
Manual Shutoff
Valve *
CAUTION: Make sure external
regulator has been installed be-
tween propane supply and heater.
See guidelines under
Connecting
to Gas Supply
, pages 9 and 10.