EasyManua.ls Logo

GOAL ZERO Yeti Link - Page 111

GOAL ZERO Yeti Link
116 pages
Print Icon
To Next Page IconTo Next Page
To Next Page IconTo Next Page
To Previous Page IconTo Previous Page
To Previous Page IconTo Previous Page
Loading...
108
EC8外部 バッ
テリー
オルタネータの間でGoal Zero使 するようにしてく
ださい その他のケーブルまたは配線は低でも最80A電流を流す定
格が要なため、サポーまたは推奨されていません
使用する前にルが完全に挿入され、固定さを確
くだ その後の使用を確認ださい。 ご質問のある方は
ーシンセンターsupport@goalzero.comまた1-888-794-6250)に
お問い合わせださい。
ださい。
4. リンクがード切り替ると、 +/-バッテリーまたオルタネータに
きるようになります。 Goal Zero EC8
これ行うにGoal Zeroブルのみを使用すに注意
ださい。
複数の12ンチ延長ケーブルを使しないでださい
ンクモジュールと両オルタネータまたはメインバッテリーの
次バーを入れないださ
5. グ端子ケブルをンバーまたはオタネーのいずれかの
ス端子マイス端子に接続ます
6. 不適切な接続は、エテール/セサケーブルを損傷させて
重傷または死亡の原因ます すべの配線が適切な極性に接
続されていることを確てくさい
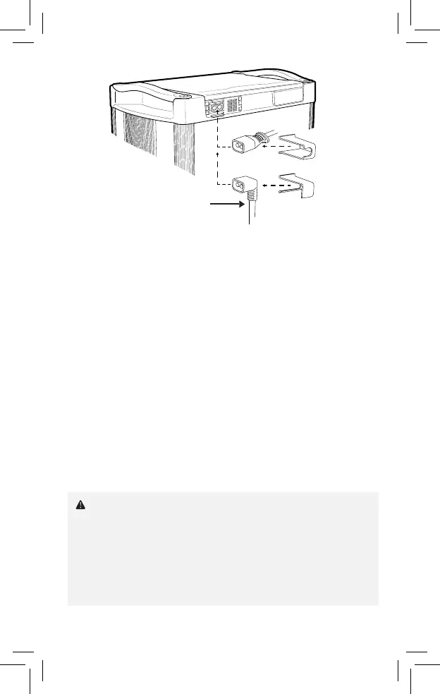
7. EC8グ端子ケーブルのオス側をEC8 ンチ延長ケーブルのメス側に差
し込みます。
8. ンチ延長ケーブルのオス側をモジルの外EC8ポーに差し込
みます
ケーブルっかと接続されているとを確さい。 特に凹凸
のある車道の前後でケブルを定期的に点検ださい。
or

Related product manuals