EasyManua.ls Logo

GOAL ZERO Yeti Link - Page 47

GOAL ZERO Yeti Link
116 pages
Print Icon
To Next Page IconTo Next Page
To Next Page IconTo Next Page
To Previous Page IconTo Previous Page
To Previous Page IconTo Previous Page
Loading...
44
Externes
EC8-Batteriekabel
Warnung: Stellen Sie sicher, dass Sie nur Goal Zero-Produkte
zwischen Ihrem Link und der Lichtmaschine verwenden. Andere
Kabel oder Drähte werden nicht unterstützt oder empfohlen,
da diese Kabel füreinen Mindeststrom von 80 A ausgelegt sein
müssen.
Stellen Sie sicher, dass das Kabel vor der Verwendung
vollständig eingeführt ist und fest an seinem Platz sitzt.
Kontrollieren Sie dies bei weiterer Verwendung. Bei Fragen
wenden Sie sich bitte an das Solutions Center unter support@
goalzero.com oder 1-888-794-6250
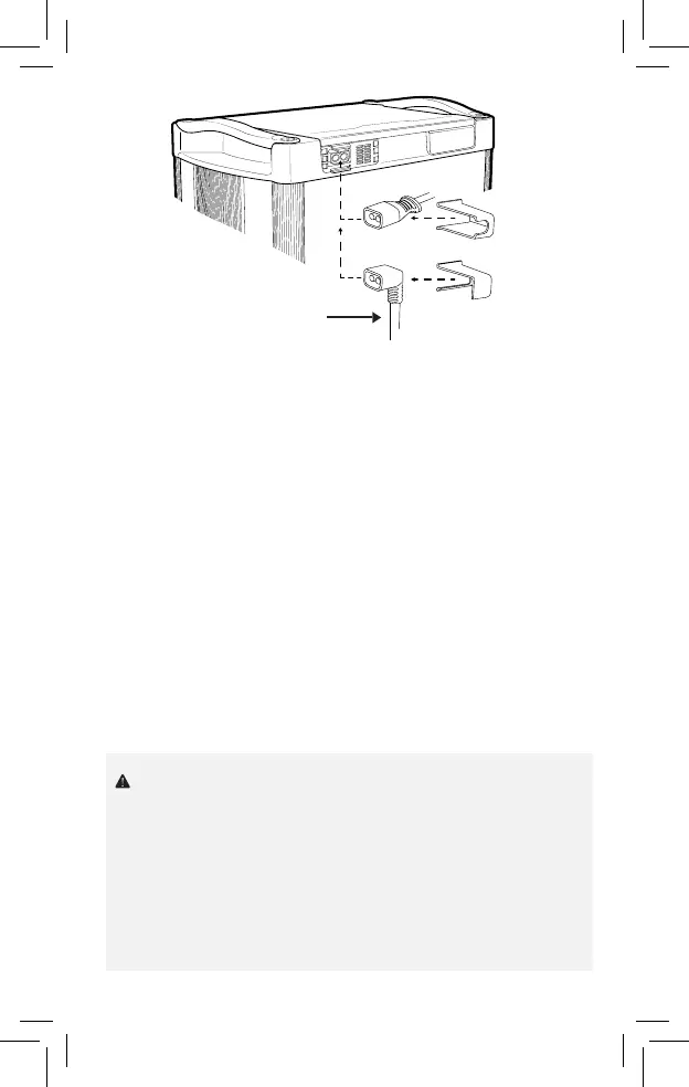
4. Sobald Link in den Fahrzeugmodus geschaltet ist, können Sie eine
Verbindung zur +/-Batterie oder zur Lichtmaschine Ihres Fahrzeugs
herstellen. Verwenden Sie dazu das EC8-Verlängerungskabel von Goal
Zero.
Hinweis: Verwenden Sie dazu ausschließlich Originalkabel von
Goal Zero.
Verwenden Sie NICHT mehr als ein Verlängerungskabel.
Verwenden Sie KEINE Sekundärbatterie zwischen dem Link-Modul
und der Lichtmaschine oder der Hauptbatterie des Fahrzeugs.
5. Schließen Sie das Kabel mit dem Ringkabelschuh an den Plus- und
Minuspol entweder der Hauptbatterie oder der Lichtmaschine an.
6. Unsachgemäße Verbindungen können zu Schäden am Yeti Link-Modul/
Zubehörkabel und/oder zu schweren Verletzungen oder zum Tod
führen. Stellen Sie sicher, dass alle Kabel mit der richtigen Polarität
angeschlossen sind.
7. Stecken Sie den Stecker des EC8-Kabels mit Ringkabelschuh in die
Buchse des EC8-Verlängerungskabels.
8. Stecken Sie den Stecker des Verlängerungskabels in den externen EC8-
Anschluss des Link-Moduls.
Stellen Sie sicher, dass alle Kabel sicher angeschlossen sind.
Überprüfen Sie die Kabel regelmäßig, insbesondere vor und nach
Nutzung unebener Strecken.
or

Related product manuals