EasyManua.ls Logo

GOAL ZERO Yeti Link - Page 63

GOAL ZERO Yeti Link
116 pages
Print Icon
To Next Page IconTo Next Page
To Next Page IconTo Next Page
To Previous Page IconTo Previous Page
To Previous Page IconTo Previous Page
Loading...
60
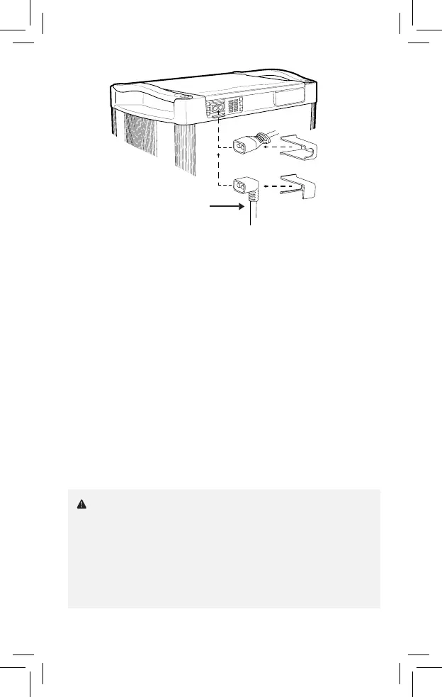
Externa EC8
Cable de la batería
Advertencia: asegúrese de utilizar solo productos Goal Zero entre
su Link y Alternador. No se admite ni se recomienda ningún otro
cable o cableado, ya que estos cables deben estar clasificados
paratransportar un mínimo de 80 A de corriente máxima
Asegúrese de que el cable esté completamente insertado y
firmementeen su lugar antes de usarlo. Compruebe los usos
posteriores. Si tiene preguntas, comuníquese con el Centro de
Soluciones por support@goalzero.com o llame al1-888-794-6250
4. Una vez que Link cambie al modo Vehículo, podrá conectarse a sus
vehículos +/- batería o alternador. Usando el cable de extensión Goal
Zero EC8.
Tenga en cuenta solo usar cables Goal Zero auténticos para
haceresto.
NO use más de un cable de extensión
NO tenga una batería secundaria entre el módulo de enlace
y el alternador del vehículo o la batería principal
5. Conecte el cable de terminal de anillo a los terminales positivo
ynegativo de la batería principal o del alternador.
6. Las conexiones incorrectas dañarán los cables del módulo/accesorio
Yeti Link y/o causarán lesiones graves o la muerte. Asegúrese de que
todo el cableado esté conectado a la polaridad adecuada
7. Conecte el extremo macho del cable de terminal de anillo EC8 en el
extremo hembra del cable de extensión EC8.
8. Enchufe el extremo macho del cable de extensión en el puerto EC8
externo del módulo de enlace.
Asegúrese de que los cables estén bien conectados. Compruebe
los cables periódicamente, especialmente antes y después de
usar en carreteras irregulares.
or

Related product manuals