EasyManua.ls Logo

GOAL ZERO Yeti Link - Page 79

GOAL ZERO Yeti Link
116 pages
Print Icon
To Next Page IconTo Next Page
To Next Page IconTo Next Page
To Previous Page IconTo Previous Page
To Previous Page IconTo Previous Page
Loading...
76
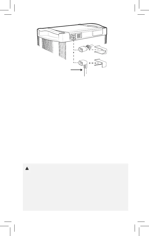
EC8 Esterno
Cavo della batteria
ATTENZIONE: Assicurarsi di usare solo prodotti Goal Zero per
i collegamenti tra il Link e l'alternatore. Qualsiasi altro cavo o
cablaggio non è supportato o raccomandato in quanto questi cavi
devono essere omologati per trasportare una corrente massima di
almeno 80A
Prima dell'uso, assicurarsi che il cavo sia inserito completamente e
che sia ben saldo nella sua sede. Verificarne le condizioni a seguito di
utilizzazioni ripetute. Per eventuali dubbi o domande contattare il Centro
assistenza all'indirizzo email support@goalzero.com oppure al numero
1-888-794-6250
4. Dopo che Link è stato impostato sulla modalità Veicolo (Vehicle Mode),
sarà possibile collegare una batteria+/- o un alternatore. Utilizzando
ilcavo prolunga Goal Zero.
Nota: per eseguire questa operazione utilizzare solo cavi Goal
Zero autentici.
NON utilizzare un cavo prolunga piú lungo.
NON inserire una batteria ausiliaria tra il modulo Link e
l'alternatore del veicolo o la batteria principale.
5. Collegare il cavo del terminale ad anello ai poli positivo e negativo della
batteria principale o a quelli dell'alternatore.
6. Collegamenti non corretti possono danneggiare il modulo Yeti Link / i cavi
ausiliari e/o causare ferite gravi o mortali. Assicurarsi che tutti i cavi siano
collegati alla polarità corrispondente.
7. Inserire l'estremità maschio del cavo a terminale ad anello EC8
nell'estremità femmina del cavo di prolunga EC8.
8. Inserire l'estremità maschio del cavo di prolunga da nella porta esterna
EC8 del modulo Link.
Assicurarsi che i cavi siano collegati in modo sicuro. Controllare
regolarmente i cavi, specialmente prima e dopo aver guidato su
strade dissestate.
or

Related product manuals