EasyManua.ls Logo

Goaliath B2251 - Lower and Upper Arm Installation; Connecting Lower Arms to Top Pole; Securing Actuator to Lower Arms

Goaliath B2251
18 pages
Print Icon
To Next Page IconTo Next Page
To Next Page IconTo Next Page
To Previous Page IconTo Previous Page
To Previous Page IconTo Previous Page
Loading...
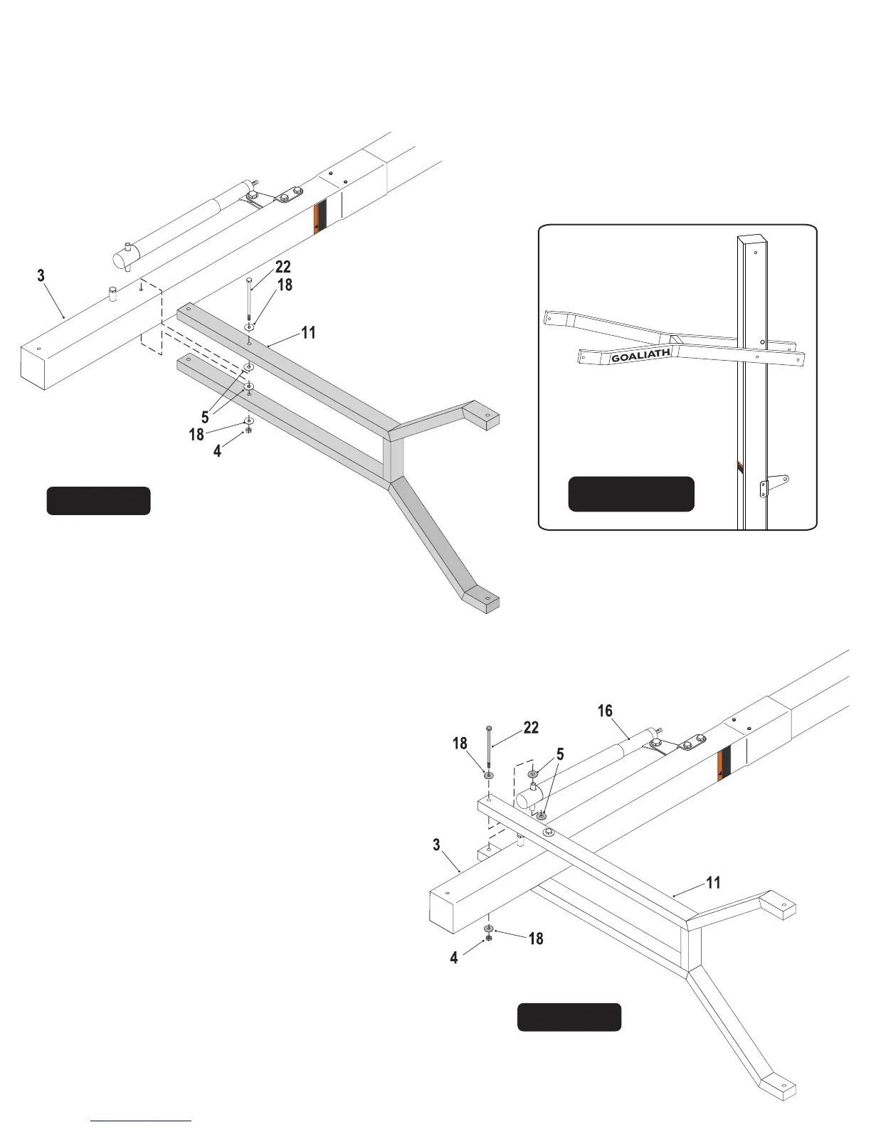
8.
Note: make sure lettering is right side up. (See Side View).
DO NOT tighten bolt (#22) at this time. (See Figure 7.)
9.
IMPORTANT! Nylon washers (#5) adequately space
painted parts at all pivot points. Neglecting the use of
these washers will result in rusted parts.
NOTE: All board arms are made of rectangular tubing.
Tightening hardware too tight may damage tubing
and make adjustment of system difficult.
Figure 8
DO NOT DUNK ON THIS UNIT .
DO NOT HANG FROM ANY PART OF THIS
UNIT , INCLUDING THE BACKBO ARD, RIM,
SUPPORT BRACES OR NET .
4L-8152-01
WARNING
!
DO NOT DUNK ON THIS UNIT .
DO NOT HANG FROM ANY PART OF THIS
UNIT , INCLUDING THE BACKBOARD, RIM,
SUPPORT BRACES OR NET .
4L-8152-00
WARNING
!
SIDE VIEW
DO NOT DUNK ON THIS UNIT .
DO NOT HANG FROM ANY PART OF THIS
UNIT , INCLUDING THE BACKBOARD, RIM,
SUPPORT BRACES OR NET .
4L-8152-01
W
AR
NI
NG
!
Note: Small amounts of clear tape can be used to adhere
Plastic Washers (#5) to Pole. This will make assembly easier.
Figure 7
Attach lower arms (#11) to Top Pole (#3), as shown in
Figure 7, using a hex bolt (#22), two flat washers (#18),
two plastic washers (#5) and lock nut (#4).
Secure Actuator (#16) to Lower Arms (#11) using one
bolt (#22), two flat washers (#18), two plastic washers
(#5) and one lock nut (#4). See Figure 8. Tighten
both bolts (#22) snug but, do not over tighten.
Board Arms must pivot freely.
9

Related product manuals