EasyManua.ls Logo

Govee H705E - Page 30

Govee H705E
55 pages
Print Icon
To Next Page IconTo Next Page
To Next Page IconTo Next Page
To Previous Page IconTo Previous Page
To Previous Page IconTo Previous Page
Loading...
27
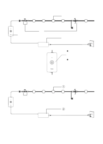
a. Adaptador de corriente
b. Caja de control
c. Luces permanentes
d. Conector resistente
al agua
De un vistazo
b.
a.
c.
d.
Pulse para
encender o apagar.
Mantenga pulsado
durante
5 segundos para
reiniciar.
Consejo para desmontar:
fuente de luz
adaptador
El producto se divide en dos partes: (1)una fuente de luz y
(2)un adaptador. Al separar el terminal de salida del
adaptador, se pueden retirar fácilmente la fuente de luz y el
adaptador.

Related product manuals