EasyManua.ls Logo

Govee H705E - Page 6

Govee H705E
55 pages
Print Icon
To Next Page IconTo Next Page
To Next Page IconTo Next Page
To Previous Page IconTo Previous Page
To Previous Page IconTo Previous Page
Loading...
0 3
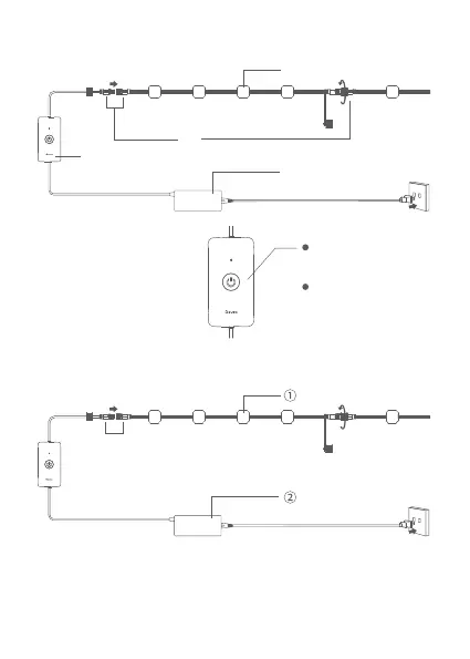
a. Power Adapter
b. Control Box
c. Permanent Lights
d. Waterproof
Connector
At a Glance
b.
a.
c.
d.
Press to turn on or
off.
Press and hold for 5
seconds to reset.
Disassembly Tip
light source
adapter
The product is divided into two parts: (1) a light source
and(2) an adapter. By detaching the output terminal of the
adapter, you can easily remove the light source or the
adapter.

Related product manuals