EasyManua.ls Logo

Graymark 808 - CAPACITANCE REQUIRED FOR APPLICATION (continued)

Graymark 808
62 pages
Print Icon
To Next Page IconTo Next Page
To Next Page IconTo Next Page
To Previous Page IconTo Previous Page
To Previous Page IconTo Previous Page
Loading...
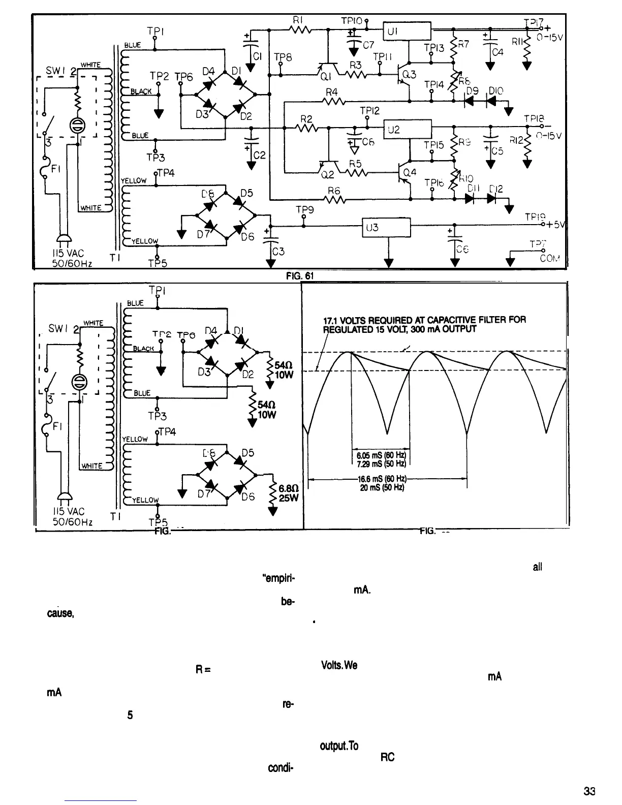
TW
TPI
FIG.
61
PEAK VOLTAGE OF 22.2 VOLTS
FIG.
62
FIG.
63
A less math-intensive, more empirical method would be
tions the measured peak output voltage of the rectifier
to provide resistive loads for each rectifier output, and
is 22.2 Volts. We need to maintain a voltage of at least
measure the peak D.C. voltage available to charge the
17.1 Volts (which is 77% of the peak voltage) at
all
times
filter capacitor with an oscilloscope. (The word
“empiri-
to maintain a regulated power supply output of 15 Volts
cal” relates to information gained by observation and
at 300
mA.
How big a capacitor will be needed to do
experimentation.) All the outputs need to be loaded
be-
this?
&se,
due to the primary winding resistance and core
losses of the transformer, increasing the load on one
winding will decrease the voltage output of the other
windings. Figure 62 shows schematically how this
measurement would be made.The load resistor values
are calculated with the formula:
R
=
E/l. For the varia-
ble supplies, we use the values of 17.1 Volts and 314
mA
that we calculated earlier. The two load resistors
have a resistance value of 54 Ohms each.The load
re-
sistor for the fixed
5
Volt supply was calculated in a simi-
lar manner, and has a resistance value of 6.8 Ohms.
The input voltage to the power transformer is reduced
to 95 Volts, as this is the minimum input voltage speci-
fied for the 808 Power Supply. Under these test
condi-
4
.
Through calculation and measurement, we have deter-
mined that the power transformer and rectifier are capa-
ble of providing a full wave pulsating DC voltage of 22.2
Volts at full rated current with a line input voltage of 95
Volts.We
have also determined that to maintain a regu-
lated plus 15 Volts at a current of 300
mA
at the variable
positive output of the 808 Power Supply, the voltage
from rectifier will have to be at least 17.1 Volts at all
times. Figure 63 shows this information graphically,
along with the period of time that the capacitive filter will
have to supply power during each cycle of the rectifier
outputTo
calculate the size of the capacitor needed, we
will be using
RC
time constant formulas.
n
3J

Related product manuals