EasyManua.ls Logo

GreatCo EF68PEN - Installation Details; Tools and Unpacking; Location and Clearances

GreatCo EF68PEN
9 pages
Print Icon
To Next Page IconTo Next Page
To Next Page IconTo Next Page
To Previous Page IconTo Previous Page
To Previous Page IconTo Previous Page
Loading...
4
90236AU GE50-94 REV B 4-26-13
TOOLS REQUIRED
Magnetic Phillips Screw Driver
Electric drill or hammer drill (for concrete walls)
UNPACKING THE ELECTRIC FIREPLACE
WARNING! Do NOT use this Electric Fireplace if any part has been under water. Immediately call a
qualified service technician to inspect and to replace any part of the electrical system if necessary.
Keep plastic wrapping away from children.
Open the packaging carefully and remove the foam.
Remove and discard the plastic bag.
Keep the original packaging for future transport and/or storage.
Check that all listed parts have been included before discarding any packaging.
LOCATING YOUR ELECTRIC FIREPLACE
Your new electric fireplace may be installed virtually anywhere in your home. However, when choosing a location
ensure that the general instructions and warnings are followed. For best results, install out of direct sunlight. Power
supply service should be configured before finishing to avoid extra construction.
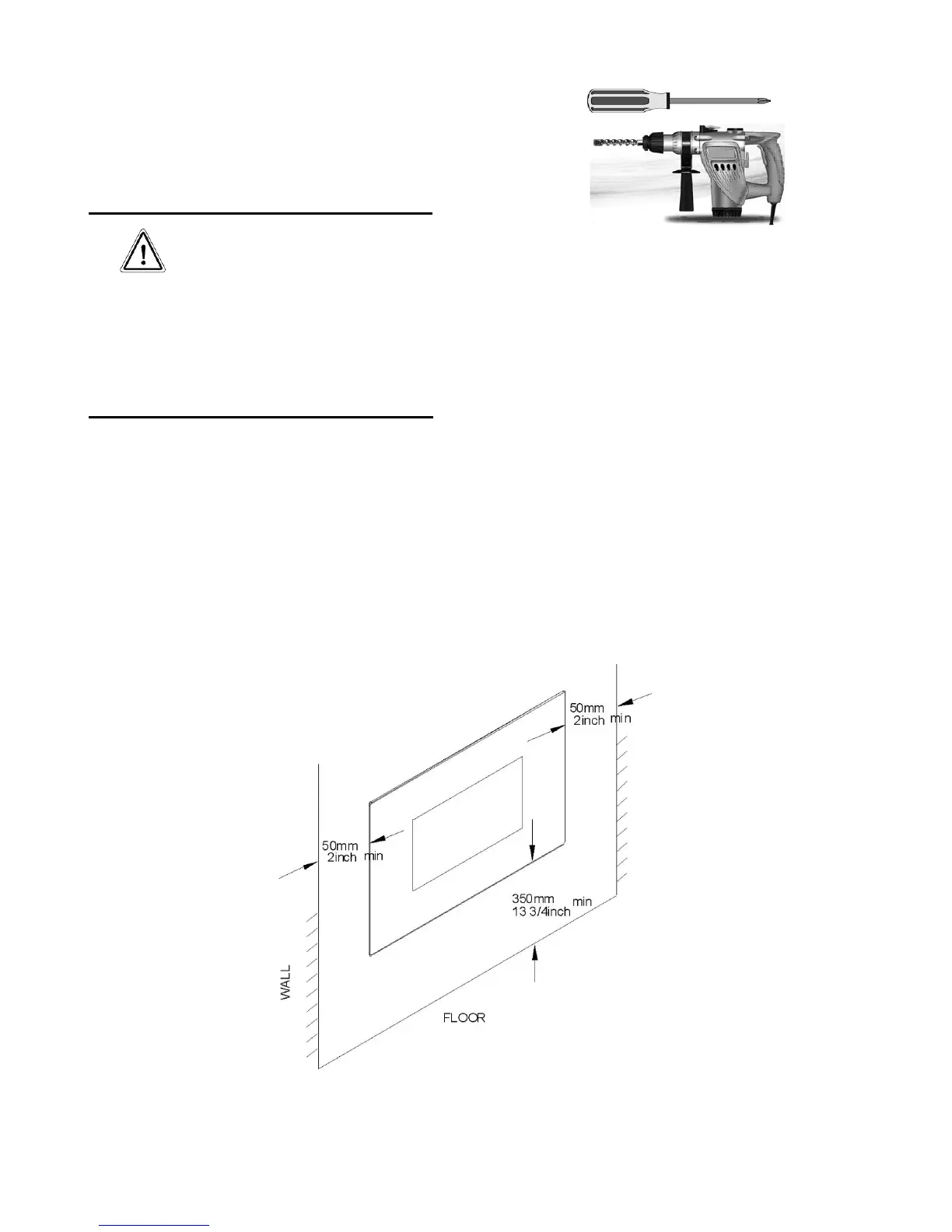
WARNING ! Keep drapery and other furnishings at least 0.9m from the front and sides of the electric fireplace.
Clearance to Combustibles
Sides …………………………………..50 mm
Floor ……………………………………. 350 mm
Top …………………………….……..….0 mm
Back ……………………………….….....0 mm
Fig. 1
Figure 2