EasyManua.ls Logo

Gree FGR30Pd/DNa-X

Gree FGR30Pd/DNa-X
41 pages
To Next Page IconTo Next Page
To Next Page IconTo Next Page
To Previous Page IconTo Previous Page
To Previous Page IconTo Previous Page
Loading...
Ducted Type Split Air-Conditioner Units(Inverter Series)
17
Water pipeGas pipeDrain pipeOther places that are deemed
as not secure by professional technicians.
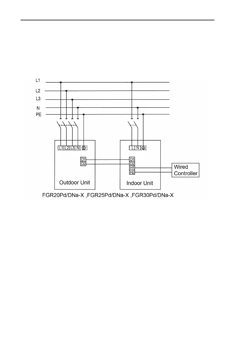
3.5.2 Wiring Diagram
1) Connection of power cord and communication wire.
Separate power supply for IDU and ODU.
Fig.19

Other manuals for Gree FGR30Pd/DNa-X

Related product manuals