EasyManua.ls Logo

Gree GUD160PHS/A-T - Page 158

Gree GUD160PHS/A-T
195 pages
To Next Page IconTo Next Page
To Next Page IconTo Next Page
To Previous Page IconTo Previous Page
To Previous Page IconTo Previous Page
Loading...
GREE U-Match 5 SERIES UNIT SERVICE MANUAL
153
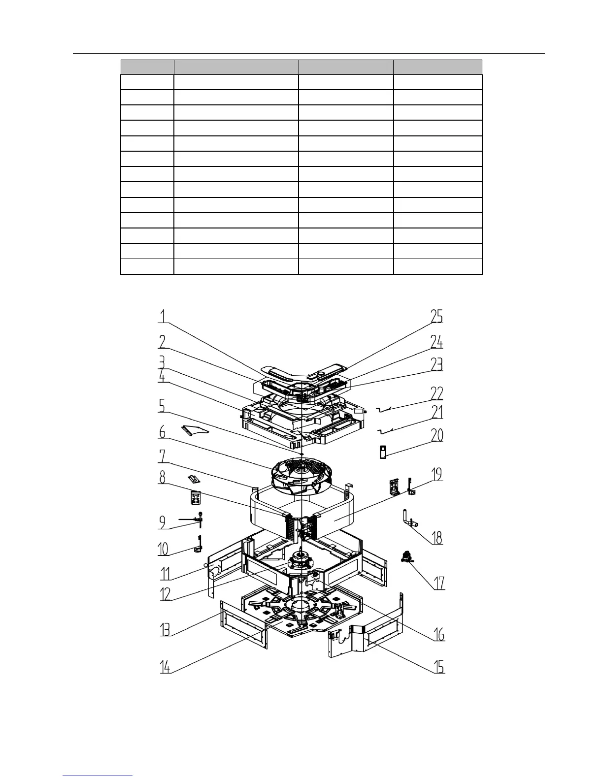
No.
Material name
Finished Product Code
Quantity
13
Seat Board Sub-assay
02229400011
1
14
Side Plate 2
01319400026
1
15
Seal Plate Assay
01499400001
1
16
Water Pump
43138000058
1
17
Drainage Pipe Sub-assay
26909400055
1
18
Evaporator Assay
011001060193
1
19
Remote Controller
305001060024
1
20
Temperature Sensor
390000453
1
21
Temperature Sensor
39000286
1
22
Drain Hose Sub-assay
05339400001
1
23
Terminal board
42000100000202
1
24
Filter Board
30221000021
1
25
Main Board
300002060224
1
GUD160T/A-T(Product CodeET010N1470)

Table of Contents

Other manuals for Gree GUD160PHS/A-T

Related product manuals