EasyManua.ls Logo

Gree GWH12AGB-K6DNA1A/O

Gree GWH12AGB-K6DNA1A/O
220 pages
To Next Page IconTo Next Page
To Next Page IconTo Next Page
To Previous Page IconTo Previous Page
To Previous Page IconTo Previous Page
Loading...
45
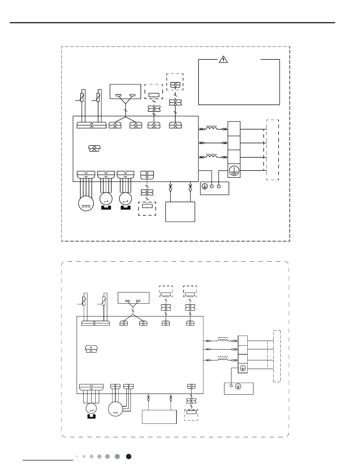
Technical Information
Service Manual
GWH09QB-K6DNC4E/I(CB444N09600) GWH09QB-K6DNC6E/I(CB443N06000) GWH12QC-K6DNC6D/I(CB443N05700)
GWH18QD-K6DNC6D/I(CB443N05800) GWH24QE-K6DNC6E/I(CB443N05900)GWH09QB-K6DNB2E/I GWH12QC-K6DNB2D/I
GWH18QD-K6DNB2D/I GWH24QE-K6DNB2E/I GWH09QB-K6DNB4E/I GWH12QC-K6DNB4D/I GWH09QB-K6DNB8E/I(CB438N10101)
GWH12QC-K6DNB8D/I(CB438N10202) GWH24QE-K6DNB8E/I(CB438N10401) GWH18QD-K6DNB4D/I(CB434N12501)
GWH24QE-K6DNB4E/I(CB434N12403) GWH18QD-K6DNB8D/I(CB438N10301)
GWH09QC-K6DNC2A/I(
CB439N14100
) GWH12QC-K6DNC2A/I(
CB439N14200
)
GWH09QC-K6DND2A/I(CB461N06600) GWH12QC-K6DND2A/I(CB461N06500)
GWH18QD-K6DNC4D/I(CB444N12300) GWH24QE-K6DNC4E/I(CB444N09801)
GWH24QE-K6DNC2E/I(CB439N13001)
60000700030904
67(33,1*
&$3
%/2&.
7(50,1$/
)$1
-803
$30$,1%2$5'
<(*1
%.
%1
1
1
;7
%8
$&/
&20287
&200$18$/
&211(&725
$3
:,5('
02725
287'22581,7
76(1625
',63
',63
57
$3
5220
78%(
7(036(1625
7(036(1625
',63/$<%2$5'
5(&(,9(5$1'
57
'&02725
0
6:,1*8'
0
&21752//(5
02725
&211(&7,1*
&$%/(
6:,1*/5
0
83'2:1
67(33,1*
02725
/()75,*+7
$3
:,),
:,),
02'8/(
+($/7+/+($/7+1
:$51,1*
3(
<(*1
%.
%1
%8
<(*1
0$*1(7,&
5,1*
5'
%8
&2/'3/$60$
*(1(5$725
3OHDVHGRQWWRXFKDQ\
HOHFWURQLFFRPSRQHQWDQG
WHUPLQDOZKHQWKHPDFKLQH
LVUXQQLQJVWRSSLQJRU
KDVEHHQSRZHUHGRIIIRU
OHVVWKDQPLQXWHVWR
SUHYHQWHOHFWULFVKRFN
(9$325$725
3(
'5<
&217$&7
237,21$/
'225&
$3
'5<&
/
/
:,5('
&21752//(5
&200$18$/
76(1625
7(03
6(1625
7(03
6(1625
57
522078%(
67(33,1*
',63/$<
35,17('&,5&8,7%2$5'
5(&(,9(5$1'
',63/$<%2$5'
&$%/(
&211(&7,1*
6:,1*8'
02725
%/2&.
7(50,1$/
$3
-803
&$3
%8
%.
<(*1
(9$325$725
3(
;7
1
0
287'22581,7
$3
3*
*(1(5$725
&2/'3/$60$
)$102725
0
5' %8
+($/7+1
+($/7+/
3*)
',63 ',63
%1
<(*1
57
1
&20287
$&/
%8
%.
%1
/
/
:,),
02'8/(
:,),
$3
$3
$3
'5<&
'225&
237,21$/
'5<&217$&7
0$*1(7,&
5,1*
60000700068803

Related product manuals