EasyManua.ls Logo

Grohe Wave - Page 2

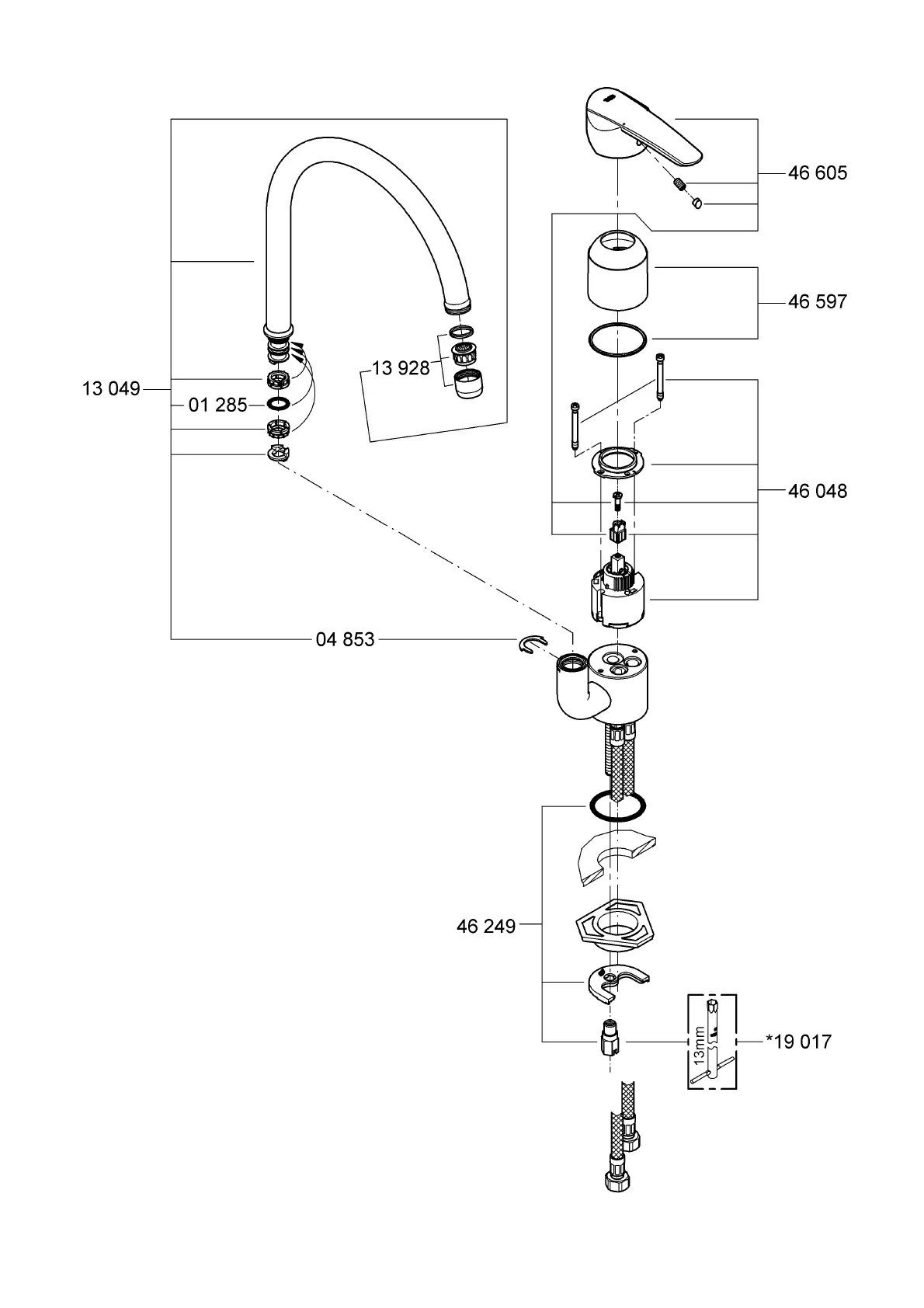
Grohe Wave
Print Icon
To Next Page IconTo Next Page
To Next Page IconTo Next Page
To Previous Page IconTo Previous Page
To Previous Page IconTo Previous Page
Loading...
1

Related product manuals