EasyManua.ls Logo

GUTMANN VIENTO 2900 ML - Elektrischer Anschluss

GUTMANN VIENTO 2900 ML
Print Icon
To Next Page IconTo Next Page
To Next Page IconTo Next Page
To Previous Page IconTo Previous Page
To Previous Page IconTo Previous Page
Loading...
DE
32
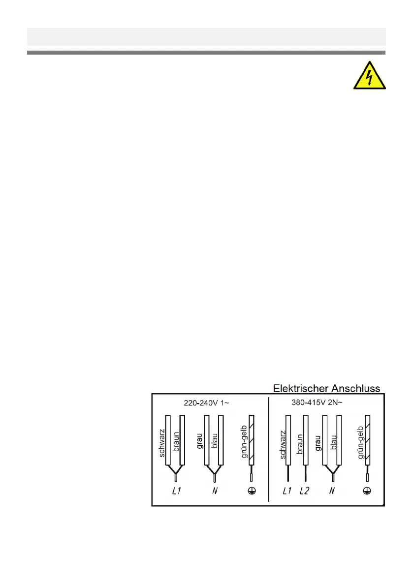
7 Elektrischer Anschluss :
WARNUNG VOR ELEKTRISCHER SPANNUNG !
ES BESTEHT LEBENSGEFAHR !
In der Nähe dieses Symbols sind spannungsführende Teile angebracht. Abdeckungen, die
damit gekennzeichnet sind, dürfen nur von einer autorisierten Elektrofachkraft entfernt wer-
den.
Der elektrische Anschluss darf nur von einem autorisierten Fachmann vorgenommen
werden !
Die gesetzlichen Vorschriften und Anschlussbedingungen des örtlichen Elektroversor-
gungsunternehmens müssen vollständig eingehalten werden.
Bei Anschluss des Gerätes ist eine Einrichtung vorzusehen, die es ermöglicht, das Gerät
mit einer Kontakt Öffnungsweite von mindestens 3 mm allpolig vom Netz zu trennen. Als
geeignete Trennvorrichtung gelten LS-Schalter, Sicherungen und Schütze. Bei Anschluss
und Reparatur Gerät mit einer dieser Einrichtungen stromlos machen.
Der Schutzleiter muss so lang bemessen sein, dass er bei Versagen der Zugentlastung
erst nach den stromführenden Adern des Anschlusskabels auf Zug beansprucht wird.
Die überschüssige Kabellänge muss aus dem Einbaubereich unterhalb des Gerätes her-
ausgezogen werden.
Bitte beachten Sie, dass die vorhandene Netzspannung mit der auf dem Typenschild
übereinstimmt.
Der vollständige Berührungsschutz muss durch den Einbau sichergestellt sein.
Achtung: Falschanschluss kann zur Zerstörung der Leistungselektronik führen.
Das Kochfeld ist nur für Festinstallation zugelassen . Es darf nicht mit einem Schuko Ste-
cker angeschlossen werden.
8 Anschlusswerte EN 60 335-2-6 / 2016-02 beachten !
Netzspannung :
1N~ 220-240V / 32A , 50/60Hz
2N~ 380-415V / 16A , 50/60Hz
Anschlussleitung
Das Kochfeld ist werkseitig mit einer temperaturbeständigen Anschlussleitung ausgestat-
tet.
Beschädigte Leitungen dürfen nur durch den Hersteller oder einem Kundendienst er-
setzt werden.
ALLGEMEINE THEMEN

Table of Contents

Other manuals for GUTMANN VIENTO 2900 ML

Related product manuals