EasyManua.ls Logo

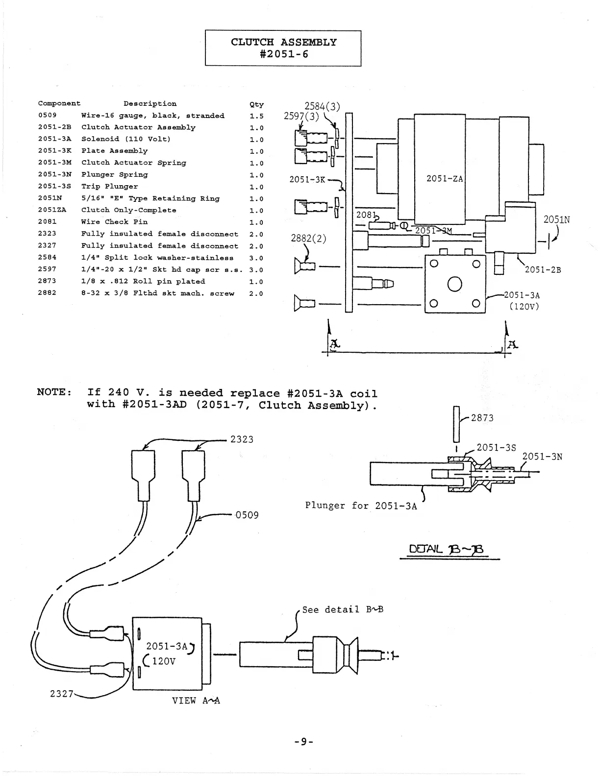
Hamer 125 - CLUTCH ASSEMBLY 2051-6; Clutch 2051-6 Components

Hamer 125
31 pages
Print Icon
To Next Page IconTo Next Page
To Next Page IconTo Next Page
To Previous Page IconTo Previous Page
To Previous Page IconTo Previous Page
Loading...

Related product manuals