EasyManua.ls Logo

Hamilton Beach 74277 - Parts and Features

Hamilton Beach 74277
16 pages
Print Icon
To Next Page IconTo Next Page
To Next Page IconTo Next Page
To Previous Page IconTo Previous Page
To Previous Page IconTo Previous Page
Loading...
3
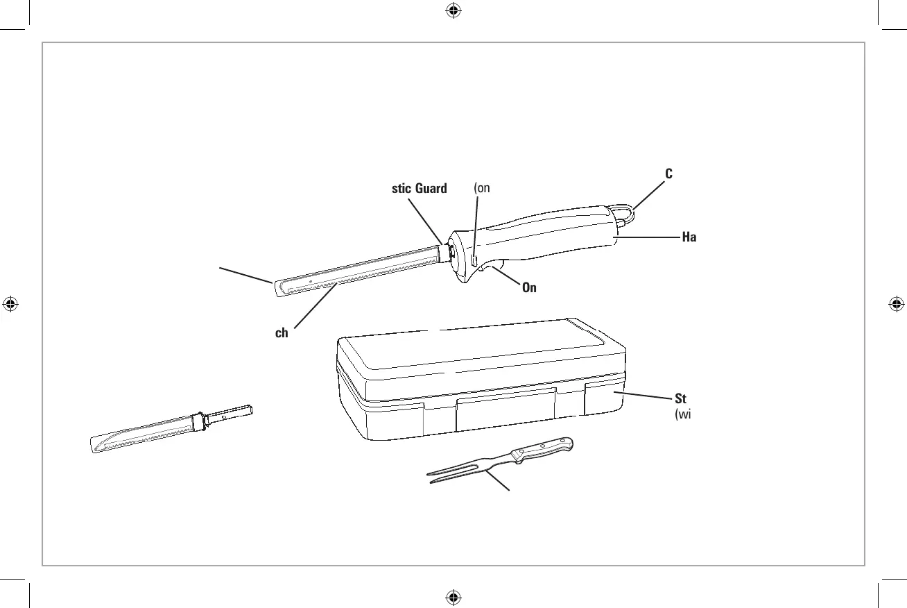
Blade-Release Buttons
(on both sides)
Plastic Guard
Parts and Features
To order parts:
hamiltonbeach.com
Before first use: Handle carefully. Blades are sharp. Wash blades in hot,
soapy water. Rinse; then dry thoroughly.
8-inch
Carving/
Slicing
Blade
Protective Sleeve
for Blades
(always keep on Blades
when not in use)
On/Off Switch
Handle
Storage Case
(with select models)
5-inch Kitchen Utility Blade
(with select models)
Cord
Meat Fork
(with select models)

Related product manuals