EasyManua.ls Logo

Hamilton Beach 74277 - Pièces Et Caractéristiques

Hamilton Beach 74277
16 pages
Print Icon
To Next Page IconTo Next Page
To Next Page IconTo Next Page
To Previous Page IconTo Previous Page
To Previous Page IconTo Previous Page
Loading...
7
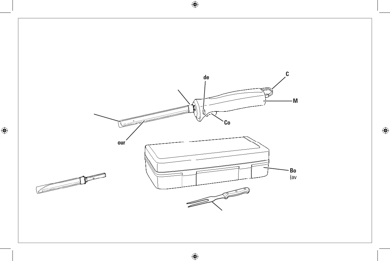
Bouton de dégagement
des lames (des deux côtés)
Butée en
plastique
Pièces et caractéristiques
Pour commander des pièces :
hamiltonbeach.ca
Avant la première utilisation : Manipuler avec précaution. Les lames sont
coupantes. Nettoyer les lames à l’eau chaude savonneuse. Rincer puis
sécher complètement.
Lame pour
couteau à
trancher de
20 cm (8 po)
Manchon protecteur
des lames
(à garder sur les lames
lorsque le couteau n’est
pas utilisé)
Commutateur
marche/arrêt
Manche
Boîtier de rangement
(avec certains modéles)
Lame pour couteau de
cuisine de 13 cm (5 po)
(avec certains modéles)
Cordon d’alimentation
Fourchette à viande
(avec certains modéles)

Related product manuals