EasyManua.ls Logo

HAMPTON BAY 42010 - Page 12

HAMPTON BAY 42010
38 pages
Print Icon
To Next Page IconTo Next Page
To Next Page IconTo Next Page
To Previous Page IconTo Previous Page
To Previous Page IconTo Previous Page
Loading...
12
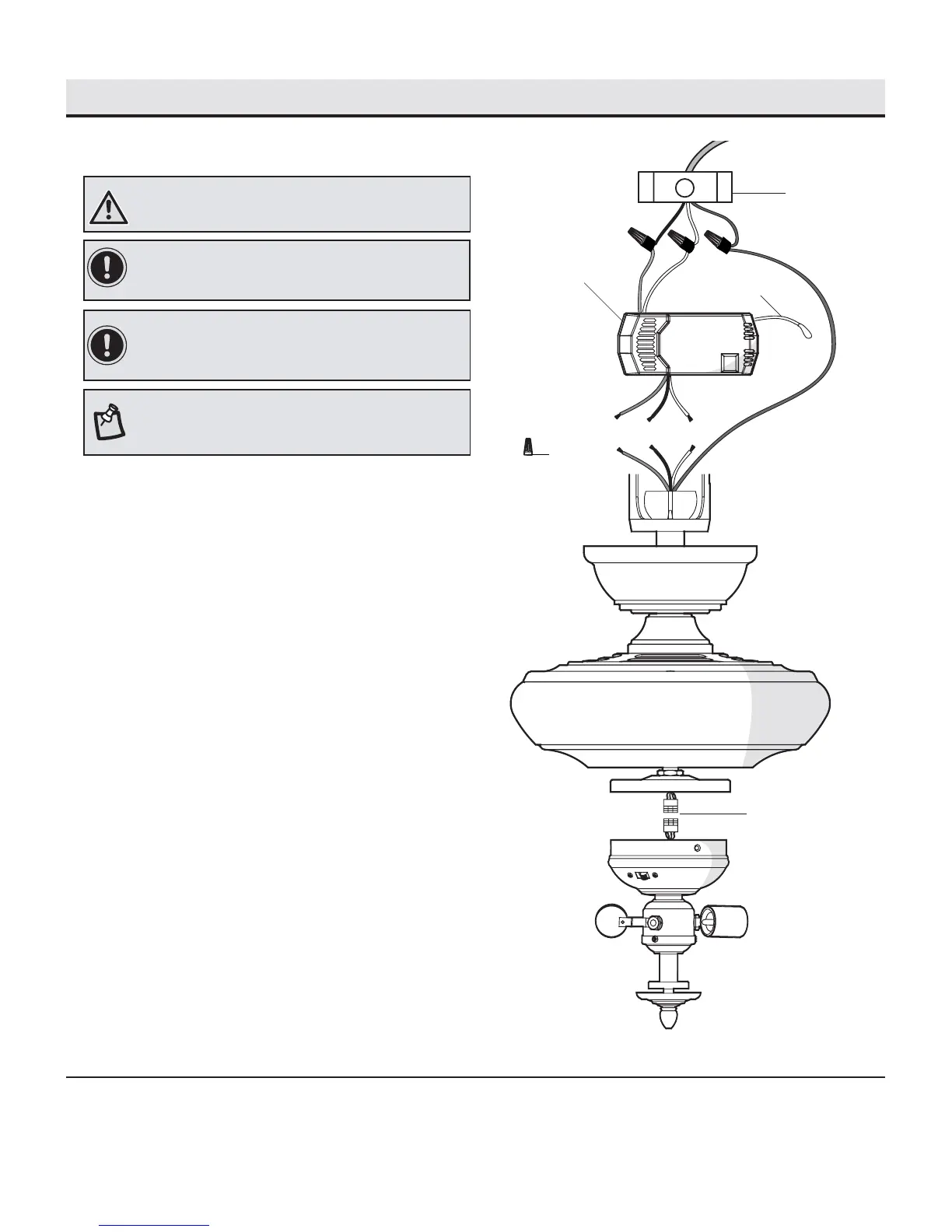
Wiring the fan to the receiver
Ƒ The fan comes with 54 in. lead wires for use with an extended
ball/downrod assembly. If using the 4.5 in. ball/downrod
assembly (B) provided, you can cut the lead wires to your
desired length (no shorter than 12 in.) This will make extra
room in the canopy (C), if you do not wish to cut the wires,
you will need to neatly wrap them.
Ƒ Connect the fan motor white wire to the receiver white wire
using a wire connecting nut (AA).
Ƒ Connect the fan motor black wire to the receiver black wire
using a wire connecting nut (AA).
Ƒ Connect the fan motor blue wire to the receiver blue wire
using a wire connecting nut (AA).
Ƒ Secure each wire connecting nut using electrical tape.
Ƒ Turn the wire connecting nut (AA) upward and push the wiring
into the outlet box (MM).
6
IMPORTANT: Use the wire connecting nuts (AA) supplied with your
fan. Secure the connectors with electrical tape and ensure there
are no loose strands or connections.
Outlet box
in the ceiling
(MM)
Receiver (K)
Blue
Receiver
Antenna
Black White
Green
Required
connection
for fan
operation
AA (x3)
NOTE: The fan comes with 54 in. lead wires for use with an
extended ball/downrod assembly. If using the 4.5 in. ball/downrod
assembly (B) provided, you can cut the lead wires to your desired
length (no shorter than 12 in.).
Assembly - Hanging the Fan (continued)
WARNING: Remove the rubber motor stops on the bottom of the
fan before installing the blades or testing the motor.
IMPORTANT: If after this step, you decide to check that the
electrical connections have been successful, it is critical to attach
the light kit using the quick connector prior to testing. The fan will
not operate unless the light kit is connected to the fan.

Related product manuals