EasyManua.ls Logo

HANGCHA CPD25-AC3 - Page 60

HANGCHA CPD25-AC3
82 pages
Print Icon
To Next Page IconTo Next Page
To Next Page IconTo Next Page
To Previous Page IconTo Previous Page
To Previous Page IconTo Previous Page
Loading...
56
The battery without a dobber
When the electrolyte is above 15-20mm of the
electrode plate, stop replenishing the distilled
water.
After replenishing the distilled water, close
the pouring plug and battery cover.
Using the damp cloth to clean the surface
of every battery cell.
CAUTION
It is not permitted to overrun the
appointed tiptop level when
replenishing the distilled water.
Adding it too much will result in
leakage of electrolyte, and it will
damage the truck when charging
and discharging..
Draw it out with injector if adding it
too much.
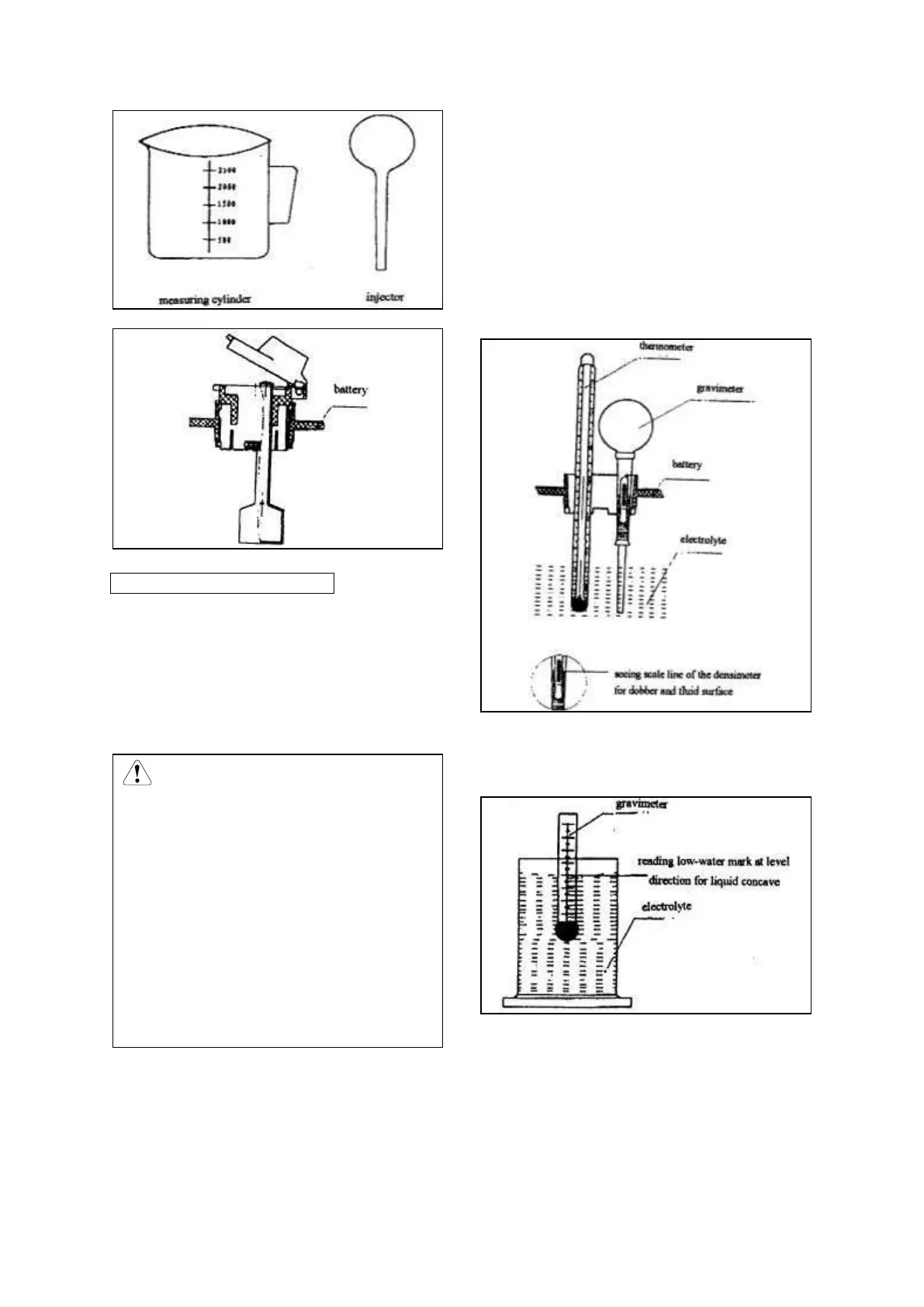
3. Read the specific gravity
The specific gravity of the electrolyte
should change follow the temperature.
a. Use thermometer to measure the
temperature of electrolyte.
b. Put the straw of densimeter into
electrolyte uprightly, extrude rubber tube
with hand and the electrolyte will be
sucked into the glasses tube and then the
floater of the densimeter will float.
c. Numerate the reading of the densimeter.
NoticeThe dobber of densimeter must rise
uprightly without depending on the glass pipe.
Specific gravity measure
Using the densimeter to measure the specific
gravity.
Conversion of the specific gravity
The specific gravity at the standard
temperature of 30
0
C should be converted as
follow
D30= Dt + 0.0007(t - 30)

Related product manuals