EasyManua.ls Logo

Haws SVS-1000 - Page 5

Haws SVS-1000
Print Icon
To Next Page IconTo Next Page
To Next Page IconTo Next Page
To Previous Page IconTo Previous Page
To Previous Page IconTo Previous Page
Loading...
- 4 -
SVS-1000 DK
Hvad betyder sous-vide?
Sous-vide (fransk for “Under vakuum”) er en madlavningsmetode, hvor maden først vakuumpakkes i specielle
plastposer og derefter koges på en lav temperatur i et vandbad. Tilberedningstemperaturen holdes under 95°C.
De lave temperaturer æ ndrer langsommere produkternes molekyler, hvilket r resultatet mere rt og saftigt.
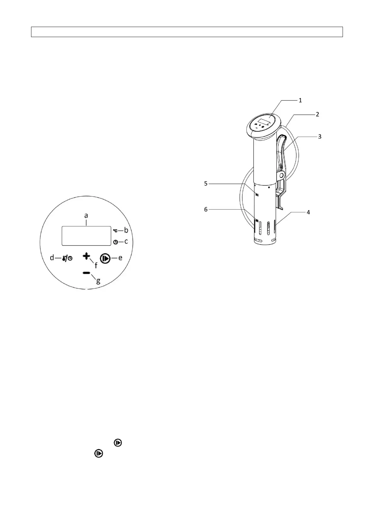
BESKRIVELSE AF DELENE
1. Betjeningspanel
2. Ledning
3. Spæ ndebøjle
4. Nedre del (med varmer og drejehjul indeni)
5. Maksimal vandstand
6. Minimal vandstand
Betjeningspanel
a. Digital skæ rm
b. Ikon for temperaturenhed
c. Timer-ikon
d. Knap til indstilling af temperatur eller tid
e. Knap til start/stop af apparatet
f. Knap til at skrue op for temperaturen eller forlæ nge tiden
g. Knap til at skrue ned for temperaturen eller forkorte tiden
BETJENING
Forsigtig: Under brug må delen over MAKS-linjen ikke nedsæ nkes i væ ske.
1. s apparatet med spæ ndebøjlen siden af beholderen. Beholderens øvre kant skal re over MAKS-linjen
apparatet. Stil beholderen på en flad, tør og varmebestandig overflade.
2. Hold godt fat i beholderen. Vandstanden skal væ re mellem MIN- og MAKS-linjerne, der er markeret
apparatet. Vandstanden stiger, når du putter fødevarer i beholderen, så undgå, at fylde den for meget op.
3. Slut apparatet til en passende stikkontakt. Der lyder en biplyd. Alle indikatorerne lyser og r ud, og
indikatoren på knappen “ ” lyser rød. Apparatet er på standby.
4. Tryk knappen ”, hvorefter den indikator blinker rød og ikonet “°C” blinker også. Du kan nu indstille
den ønskede temperatur. Brug knapperne “+” og “-til, at justere temperaturen mellem 30°C og 9C. Hvert
tryk siger en lyd og ændre temperaturen med 0,1°C. Holdes knappen “+” eller - nede, ændres
temperaturen indtil knappen slippes.