EasyManua.ls Logo

HEADQUARTERS OH-58A - Page 47

Default Icon
292 pages
Print Icon
To Next Page IconTo Next Page
To Next Page IconTo Next Page
To Previous Page IconTo Previous Page
To Previous Page IconTo Previous Page
Loading...
TM 55-1520-228-10
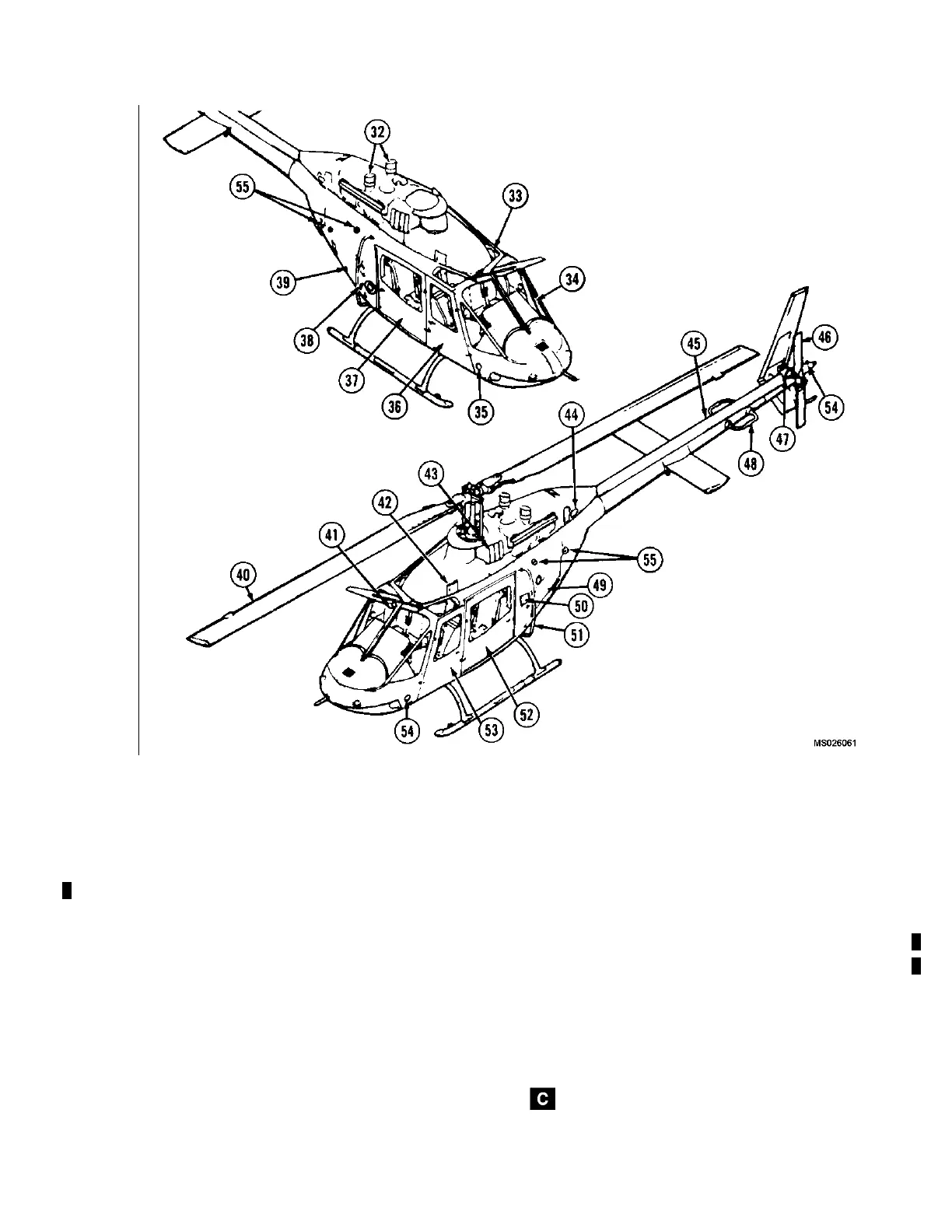
32.
Infrared Engine Exhaust
45.
Tail Rotor Driveshaft Cover
33. FM No. 2 Antenna 46. Tail Rotor Blade and Hub
34.
Windshield (Flat Glass)
47.
Tail Rotor Gearbox
35.
Right Static Port
48.
VOR Antenna
36. Pilot Door 49.
Battery and Avionics Compartment Door
37. Passenger Door 50.
Step
38. Battery Vent 51. FM Homing Antenna
39. External Power Receptacle 52. Passenger Door
40. Main Rotor Blades and Hub 53.
Copilot Door
41.
Free Air Temperature (FAT) Gage
54.
Left Static Port
42. Forward Transmission Fairing Inspection Door
55.
NVG Position Lights
43. Engine Air Inlet 56.
Tail C one
44.
Engine Oil Tank Drain Access Door
Figure 2-2. General Arrangement Typical (Sheet 2 of 2)
Change 12 2-5

Related product manuals