EasyManua.ls Logo

Heathkit HM-2102 - Page 25

Heathkit HM-2102
26 pages
Print Icon
To Next Page IconTo Next Page
To Next Page IconTo Next Page
To Previous Page IconTo Previous Page
To Previous Page IconTo Previous Page
Loading...
Page
21
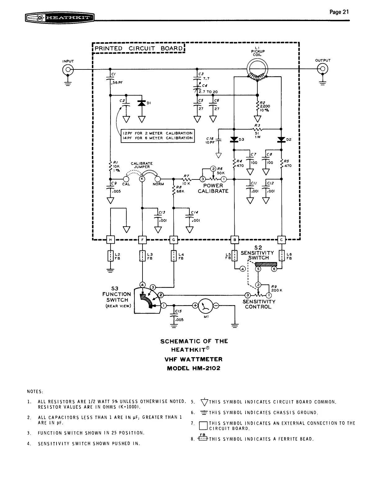
[eegernarererr
]
:
‘PRINTED
CIRCUIT
BOARD!
Possess
eee
eee
68K
$3
FUNCTION
SWITCH
(REAR
VIEW)
Lt
t
PICKUP
colL
t
I
I
Da
CALIBRATE
p>)
wy
eee
re)
SENSITIVITY
WITCH
Lig
La
a
pewereeee
SENSITIVITY
CONTROL
SCHEMATIC
OF
THE
HEATHKIT®
VHF
WATTMETER
MODEL
HM-2102
NOTES:
1.
ALL
RESISTORS
ARE
1/2
WATT
5%
UNLESS
OTHERWISE
NOTED.
RESISTOR
VALUES
ARE
IN
OHMS
(K=1000).
ALL
CAPACITORS
LESS
THAN
1
ARE
IN
uF;
GREATER
THAN
1
ARE
IN
pF.
FUNCTION
SWITCH
SHOWN
IN
25
POSITION.
SENSITIVITY
SWITCH
SHOWN
PUSHED
IN.
5
6.
7,
VJTHIs
SYMBOL
INDICATES
CIRCUIT
BOARD
COMMON,
TE
THIS
SYMBOL
INDICATES
CHASSIS
GROUND.
THIS
SYMBOL
INDICATES
AN
EXTERNAL
CONNECTION
TO
THE
CIRCUIT
BOARD.
.
ESNTHIS
SYMBOL
INDICATES
A
FERRITE
BEAD.

Related product manuals