EasyManua.ls Logo

Heathkit TC-2 - Page 2

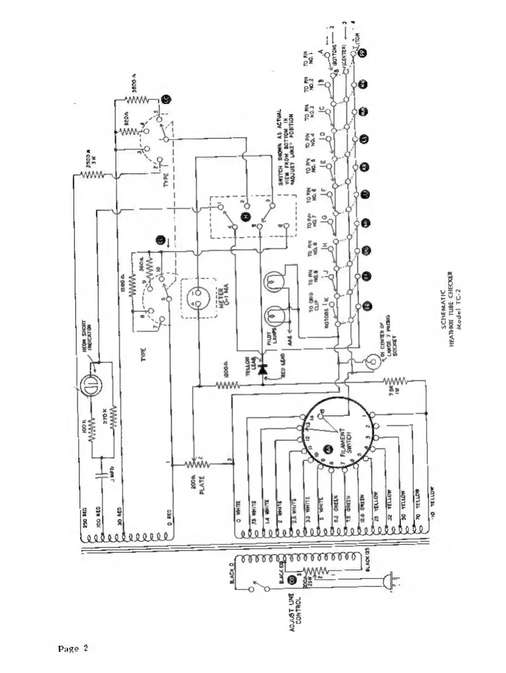
Heathkit TC-2
7 pages
Print Icon
To Next Page IconTo Next Page
To Next Page IconTo Next Page
To Previous Page IconTo Previous Page
To Previous Page IconTo Previous Page
Loading...
Page
2
CONTROL
ADNST
UNE

Related product manuals