EasyManua.ls Logo

HEINE EL3 - Page 10

HEINE EL3
Print Icon
To Next Page IconTo Next Page
To Next Page IconTo Next Page
To Previous Page IconTo Previous Page
To Previous Page IconTo Previous Page
Loading...
med 0315 2015-03-25 med 0315 2015-03-2510/28
Posicionamiento
Para evitar una contaminacn posicione la lámpara de reconocimiento
dico antes del reconocimiento así como durante del mismo con la
ayuda de la asistencia.
El brazo giratorio de la lámpara de reconocimiento médico EL3 LED posee
dos apartados flexibles (1,3) y un apartado rígido (2).
Para el exacto posicionamiento agarre el cabezal de la lámpara por el
mango (4) y el cuello de cisne por la parte flexible (1), y doble el cuello de
cisne hacia la posicn deseada. El ajuste fino usted lo puede realizar a
través del mango (4).
No doblar el cuello de ganso <90 grados.
La ilustración representa la posición de la lámpara durante el transporte
con pie.
Manejo
La distancia de trabajo óptima es de 30 cm. La distancia mínima de
20 cm no se debe sobrepasar por debajo.
Reacondicionamiento higiénico
Deben observarse las instrucciones sobre reacondicionamiento higiénico
según las normas, leyes y directivas nacionales.
Clasificación según KRINKO: no crítico
Spaulding Classification USA: noncritical
Dejar enfriar el aparato antes de la limpieza.
Antes de la limpieza, desconectar el dispositivo de la fuente de
tensión.
Efece una depuración higiénica si cree que el aparato ha podido
resultar contaminado.
Las medidas de limpieza y desinfección descritas no sustituyen las
normas válidas para el servicio.
HEINE Optotechnik autoriza solo los medios y procedimientos
mencionados en las presentes instrucciones de uso.
La limpieza y la desinfeccn solo podrán realizarlas personas con
la competencia necesaria en materia de higiene.
Siga las indicaciones del fabricante del agente limpiador.
No utilice ninguna desinfección a base de aerosol, ni paños tan
húmedos que goteen o que creen mucha espuma. No efectúe una
limpieza mecánica.
Procedimiento
Limpie y desinfecte la EL3 LED a mano (limpieza y desinfección con un
paño).
Productos recomendados:
Alcohólicas (por ejemplo, tejidos Incides
®
), aminas cuaternario
(p.ej. Microbac
®
Tissues) o ortoftalaldehído (OPA ejemplo Cidex
®
)
Los restos de productos de limpieza en la óptica pueden retirarse con un
paño de microfibra seco lo más aptico posible.
Recambio de la fuente de luz
La lámpara LED no se puede sustituir. En caso de fallo diríjase a
HEINE.
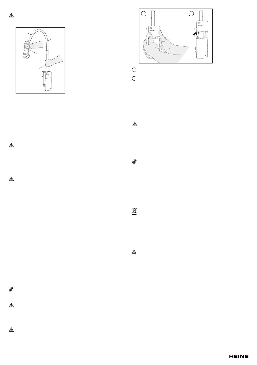
Cambio de fusible
Desconecte la lámpara de reconocimiento médico y extraiga el cable
de red del aparato. Los fusibles se encuentran en el portafusibles de
la clavija empotrada. Utilice de recambio exclusivamente los fusibles
indicados en los datos técnicos.
Contro técnico de seguridad (CTS)
La fuente de alimentacn y el cable de red se deben comprobar
regularmente por si presentan daños y su correcta funcionalidad.
El control técnico de seguridad (CTS) se debe llevar a cabo cada dos
años conforme a las reglas técnicas generales reconocidas.
Para la comprobación ectrica se debe primero extraer la cubierta de
montaje.
El punto de comprobación se encuentra en el lado izquierdo y está
señalizado de forma correspondiente.
Mantenimiento y servicio técnico
Los aparatos están exentos de mantenimiento y servicio técnico.
No se permite modificar el aparato.
Enviar el aparato a reparar a la casa HEINE o a un servicio autorizado
con el fin de evitar el riesgo de choques eléctricos, quemaduras y
lesiones debido a una reparación o manipulacn inadecuada.
Advertencias generales
Comprobar el correcto funcionamiento del aparato antes de cada uso.
No utilizar, si se detectan danos.
No modifique el aparato.
Utilice exclusivamente piezas y accesorios y fuentes de tensión
originales de HEINE.
Las reparaciones solo deben ser efectuadas por personal especializado
cualificado.
Notas generales
La garantía para la totalidad del producto se extinguirá y quedará
invalidada si se usan productos y piezas de repuesto que no sean
originales de HEINE, e igualmente si personas no autorizadas por
HEINE manipulan el producto (en especial reparaciones o modifi-
caciones). Puede encontrar más información al respecto en
www.heine.com.
Al cambiar de un emplazamiento frío a otro caliente se puede formar
agua de condensación. Espere a que el aparato se haya igualado a la
temperatura ambiente y esté absolutamente seco, antes de ponerlo en
servicio.
Gestión de residuos
El producto debe eliminarse por separado junto con los aparatos
electricos y electronicos. Se deben tener en cuenta los correspondientes
reglamentos de eliminacion de residuos especificos del pais.
Compatibilidad electromagnética
Los aparatos electromédicos (aparatos AE) esn sujetos a medidas de
precaución especiales con respecto a la compatibilidad electromagnética
(CEM) y deberán seguirse las indicaciones sobre CEM que se incluyen
en los documentos que lo acompan. Los equipos de comunicacn AF
móviles y portátiles pueden afectar a los aparatos EM.
Este aparato puede provocar interferencias o afectar al funcionamiento
de otros aparatos cercanos. Puede que sea necesario tomar medidas
adecuadas, como por ejemplo, una nueva orientacn, una nueva
disposición del aparato ME o de la barrera de seguridad.
La utilización de otros ACCESORIOS, convertidores y cables diferentes
a los indicados, con la excepcn del convertidor y los cables, que el
FABRICANTE del APARATO haya vendido como piezas de recambio
de los componentes internos, podrán dar lugar auna mayor EMISIÓN
o a una reducción de las INTERFERENCIAS del APARATO.
El APARATO no se debe utilizar justo al lado o apilado con otros apa-
ratos. Si fuera necesario el funcionamiento cerca o apilado con otros
aparatos, el APARATO se debe observar para comprobar su servicio
conforme a lo previsto en esta disposición.
Adjuntas encontrará las tablas:
- Directrices y declaración del fabricante: inmunidad electromagnética
- Los datos técnicos
- Explicación de los símbolos utilizados
1
2
1 2
3
2
1
4