EasyManua.ls Logo

HEINE EL3 - Suomi

HEINE EL3
Print Icon
To Next Page IconTo Next Page
To Next Page IconTo Next Page
To Previous Page IconTo Previous Page
To Previous Page IconTo Previous Page
Loading...
med 0315 2015-03-25 med 0315 2015-03-25 19/28
SUOMI
HEINE EL3 LED -tutkimusvalaisin
Lue tämä käyttöohje huolellisesti ja säilytä se tulevaa käyttöä varten.
Käyttötarkoitus
EL3 LED on sähkökäyttöinen, lääkinnälliseen käytön tarkoitettu
tutkimusvalaisin suljetuissa tutkimustiloissa tehtäviin tutkimuksiin.
Laite on tarkoitettu käytettäväksi ainoastaan lääkinnällisissä
tutkimuksissa, joissa toimintahäiriöt eivät vaaranna potilasta.
Pääasiallisen valonlähteen on oltava aina päällä.
Varoitus- ja turvallisuustiedot
VAROITUS! Tämä merkkisana varoittaa mahdollisesti vaarallisista
tilanteista. Sen huomiotta jättäminen voi johtaa vähäisiin tai kohtalaisiin
vammoihin. (Tausta: keltainen. Etuala: musta.)
HUOMAUTUS! Sanaa „HUOMAUTUS“ käytetään asennukseen,
käyttöön, huoltoon tai korjaukseen liittyvien tärkeiden tietojen
yhteydessä, jotka eivät kuitenkaan koske vaaroja.
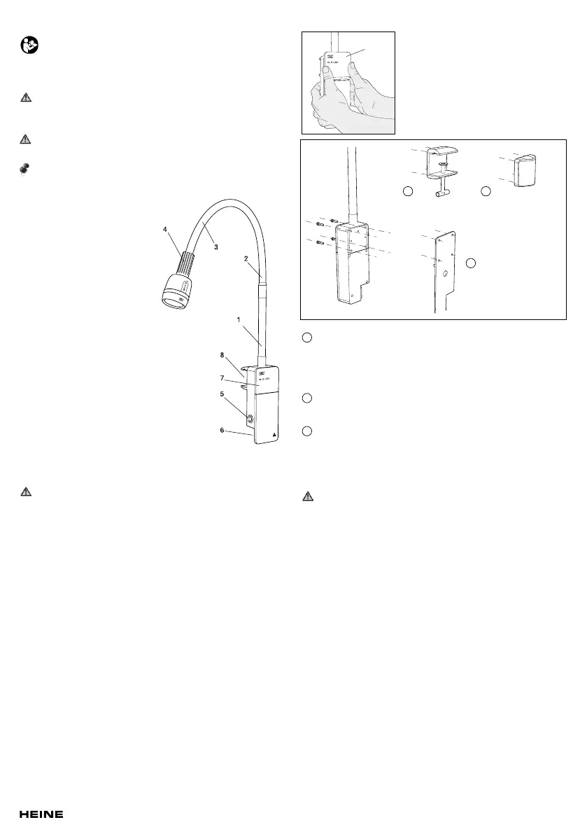
Tuotteen osat
Varsi:
1 varsi
(taipuva osa)
2 varsi
(liikkumato osa)
3 varsi
(taipuva osa)
Valaisimen pää:
4 kädensija
Valaisimen jalka:
5 järjestelmän virtakytkin
6 verkkojohdon liitäntärasia
7 peitelevy
8 kiinnitysjärjestelmän liitäntä
Asennusohjeet
Noudata lisävarusteen asennuksessa toimitukseen sisältyviä
kiinnitysjärjestelmien asennusohjeita.
Sähköiskun välttämiseksi laitteen saa liittää vain maadoitusjohtimella
varustettuun sähköverkkoon.
Jotta sähkökäyttöinen terveydenhuollon laite voidaan irrottaa
sähköverkosta kaikkinapaisesti, se on asennettava niin, että sen
verkkojohtoon on helppo päästä käsiksi ja että se voidaan irrottaa.
Varmista, että tutkimusvalaisin on kiinnitetty tukevasti, kun käytät sitä
jalustan, puristuskiinnikkeen tai seinäkiinnikkeen kanssa.
Tarkista ennen jokaista käyttöä, että kiinnitetty tutkimusvalaisin on
tukevasti paikallaan.
Varmista tutkimusvalaisimen pysyminen varmasti kiinnikkeessä
käyttämällä toimitukseen sisältyvää lisävarustetta.
Varmista valaisinta liikuttaessasi, ettei verkkojohto kiristy.
Irrota verkkojohto pistorasiasta, jos välimatka on pitkä.
Kiinnittäessäsi tutkimusvalaisimen seinään varmista, että seinä kestää
mekaanista rasitusta.
Toimitukseen sisältyvät tulpat ovat yleistulppia, joita voidaan käytä
yleisissä rakennusmateriaaleissa (kuten betonissa, tiilessä, kipsissä
ja kipsilevyssä). Tarkista ennen asennusta, onko seinässä käytettävä
erikoistulppaa.
Tarkista ennen asennusta, ettei kiinnityskohdan alla kulje johtoja, jotka
saattavat vaurioitua.
Verkkolaitteen asennus seinä-, puristustai
jalustakiinnikkeeseen: Työnnä peitelevyä (7)
ylöspäin ja nosta se. Kiinnitä tutkimusvalaisin
kiinnikkeeseen (puristus- tai jalustakiinnik-
keeseen) toimitukseen sisältyvillä ruuveilla tai
kiinnitä se seinään toimitukseen sisältyvillä
tulpilla.
Kiinnitysjärjestelmän ruuvit ovat
asennusyksikön kulmissa.
Puristuskiinnike:
Käytä valaisimen jalan asennuksessa toimitukseen sisältyviä ruuveja.
Ruuvit voidaan kiinnitä tasaiseen, enintään 40 mm paksuiseen levyyn
(esim. pöytälevyyn) tai putkeen, jonka halkaisija on enintään 30 mm.
Tarkista ennen käyttöönottoa, että asennettu valaisin on tukevasti
paikallaan.
Jalustakiinnike:
Tämä kiinnike on tarkoitettu putkille, joiden halkaisija on 25 mm.
Käytä valaisimen jalan asennuksessa toimitukseen sisältyviä ruuveja.
Seinäasennus:
Kumimattoa voidaan käyttää seinässä myös porausmallineena ja reikien
merkkinä. Se on tarkoitettu seinän epätasaisuuksien tasoittamiseen
verkkolaitteessa.
Käytä sopivassa alustassa toimitukseen sisältyviä ruuveja ja yleistulppia.
Käyttöönotto
EL3 LED -tutkimusvalaisinta ei saa käyttää silmien tutkimiseen eikä
leikkausvalaisimena.
EL3 LED on tarkoitettu käytettäväksi suljetuissa tiloissa. Se ei sovellu
matka- eikä ulkokäyttöön. Ohjeen huomiotta jätminen voi johtaa
laitteen vaurioitumiseen tai käyttäjän vaarantumiseen.
Tarkasta ennen jokaista käytä, että EL3 LED toimii moitteettomasti.
Älä ota laitetta käytön, jos siinä on silmin havaittavia vaurioita.
Laitteessa ei ole käyttöosaa, joten tutkimusvalaisin ei saa koskettaa
potilasta.
EL3 LED -tutkimusvalaisinta ei saa käyttää voimakkaissa
magneettikentissä, kuten magneettikuvauksessa.
EL3 LED -tutkimusvalaisinta ei saa käyttää happirikkaassa
ympäristössä.
Palovaara! EL3 LED -tutkimusvalaisinta ei saa käytä palavien
anestesia-aineiden (luokka AP) eikä palavien hapettimia sisältävien
anestesia-aineiden (luokka APG) läheisyydessä.
Pidä vähintään 20 cm: valon ja tutkimuskohteena (potilas).
Älä peitä tutkimusvalaisinta.
Käsittele laitetta asianmukaisesti ja huolellisesti.
Vältä verkkojohdon kiristymistä, sillä se voi johtaa laitteen
vaurioitumiseen tai aiheuttaa kompastumisen.
Kytke verkkojohto verkkoliitäntärasiaan (6) vasta asennuksen suorittamisen
jälkeen. Ota laite käyttöön kytkemällä katkaisin (5) I -asentoon. Kytkimessä
palaa vihreä merkkivalo.
1
2
3
Neljä sopivalla tulpalla
varustettua ruuvia
(M4 x 45)
Neljä ruuvia muovia
varten (40 x 20)
Neljä ruuvia
(M4 x 16)
1 2
3
7