EasyManua.ls Logo

HELI CPCD 30 - Page 73

Default Icon
98 pages
Print Icon
To Next Page IconTo Next Page
To Next Page IconTo Next Page
To Previous Page IconTo Previous Page
To Previous Page IconTo Previous Page
Loading...
lubrication method so as to minimum the clearance of the gear face.
Since the pump body and cover are made of aluminum alloy, they are light and
rigid. The driving gear and driven gear are integrated with their respective shafts
which are held in bushings. The bushings made of special metal serves both as
bearings for each shaft and as side plates for the gear face.
At the driving shaft side, an oil seal is press fitted into the pump body to provide
oil tightness performance. Oil tightness between the pump body and the pump cover is
secured with a packing with special shape.
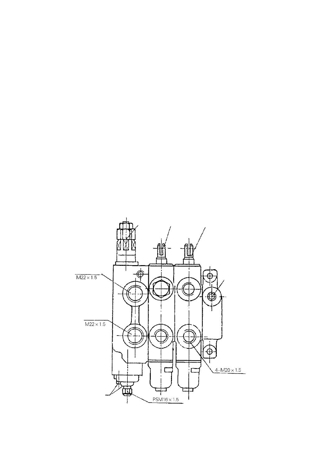
9.3 Control Valve & Divider (See Fig.9-1)
The control valve (2 spool type) consists of four valve housings, two spools, one
relief valve and one flow divider. The four valve housings are assembled together with
three stud bolts and nuts. The tilt spool valve contains a tilt lock valve.
Fig.9-1 Control valve
Relief valve
Lifting spool valve
Tilting spool valve
To pressure gauge
To steering unit
Flow divider
To oil tank
To oil pump
-71-

Related product manuals