EasyManua.ls Logo

HELI CPCD 35 - Page 66

Default Icon
98 pages
Print Icon
To Next Page IconTo Next Page
To Next Page IconTo Next Page
To Previous Page IconTo Previous Page
To Previous Page IconTo Previous Page
Loading...
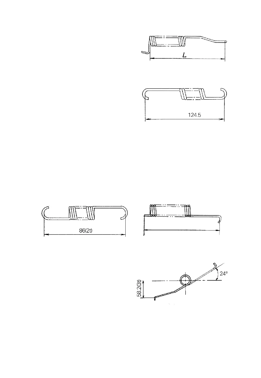
(7) Check push rod return spring
for free length and setting load (See Fig.8-
17 and part No.8 on Fig.8-2, part No. 9 on
Fig.8-3).
Free length: L=124.5mm;
Setting length: L=130mm;
Setting load: 245N.
(8) Check the adjuster spring for
free length and setting load (See Fig.8-18
and Fig.8-19 and part No.12 on Fig.8-2,
part No.18 on Fig.8-3).
Free length: L=86mm for 2 ton trucks; L=121mm for ton trucks;
Setting length: L=97mm for 2 ton trucks; L=137mm for ton trucks;
Setting load: 153N for 2 ton trucks; 71.5N for ton trucks.
(9) Check the ratchet pawl
spring for free length and setting load
(See Fig.8-20).
Setting load: 14.7N for ton
trucks.
(10) Check the adjuster to see if it is damaged or in good condition and the
contact of the adjuster lever for breakdown. If necessary, replace it.
3-3.8
3-3.8
3-3.8
3-3.8
Fig. 8-20
Fig. 8-19Fig. 8-18
Fig. 8-17
Fig. 8-16
121(3t)
-64-
(2-3.8t)

Related product manuals