EasyManua.ls Logo

Helo WE 14 - Page 5

Helo WE 14
Print Icon
To Next Page IconTo Next Page
To Next Page IconTo Next Page
To Previous Page IconTo Previous Page
To Previous Page IconTo Previous Page
Loading...
2. Suojaetäisyydet 1101 – XX (SKLA / Magma)
Kuva 2 Suojaetäisyydet SKLA / Magma
Teho
kW
Saunhuone Minimi. Suojaetäisyydet
Sopiva kivimäärä
n. kg
Min.
Max.
Minimi-
korkeus
Sivuilla
Edessä
Kattoon
Taka-
seinään
m
3
m
3
H
A
mm
D
mm
F
mm
C
mm
mm
18 18 30 2100 140 160 1400
160
120
21 24 36 2100 140 160 1400
160
120
26 30 46 2200 140 160 1500
160
120
Taulukko 2 Suojaetäisyydet
Käyttö- ja asennusohje WE 14
4
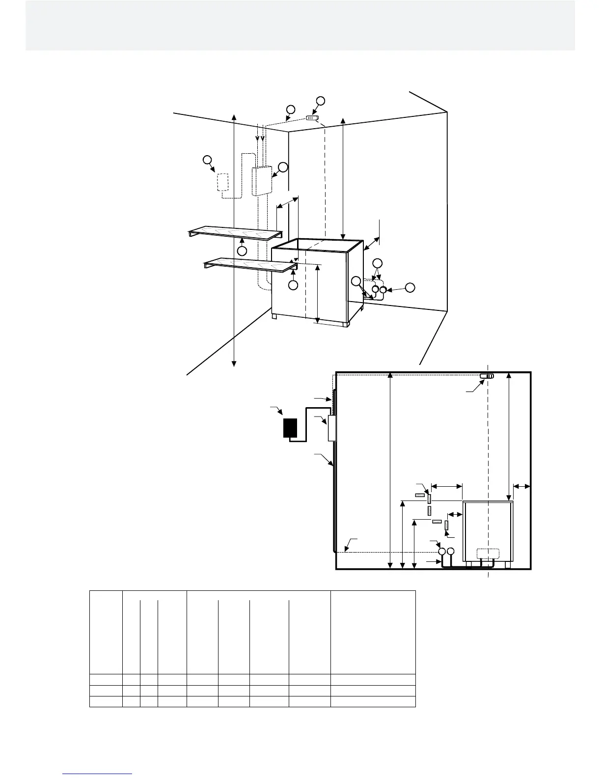
1 Kontaktorikotelo WE 14
2. Tuntoelin OLET 28
3. Lämmönkestävä kaapeli tuntoelimelle
4. Syöttökaapeli kiukaaseen
5. Liitäntärasia
6. Liitäntäkaapeli kiukaaseen
7. Alalaude tai kaide
8. Ylälaude tai kaide
9. Ohjauskeskus T2
HUOM! Tuntoelin asennetaan
kattoon keskikohtaan kiukaasta
mitat. mm
F min
3
2
1
9
H min
min 100
C
max
500
7
5
6
4
8
m
i
n
D
2
3
1
6
8 A A
4
100
5
6
min
7
H min
700
max 500
B min
9

Related product manuals