EasyManua.ls Logo

Heraeus HC 0057 - Troubleshooting and Fault Resolution

Default Icon
74 pages
Print Icon
To Next Page IconTo Next Page
To Next Page IconTo Next Page
To Previous Page IconTo Previous Page
To Previous Page IconTo Previous Page
Loading...
SERVICE MANUAL
HC 0020
-
HC
0057
HC 2020
-
HC
2057
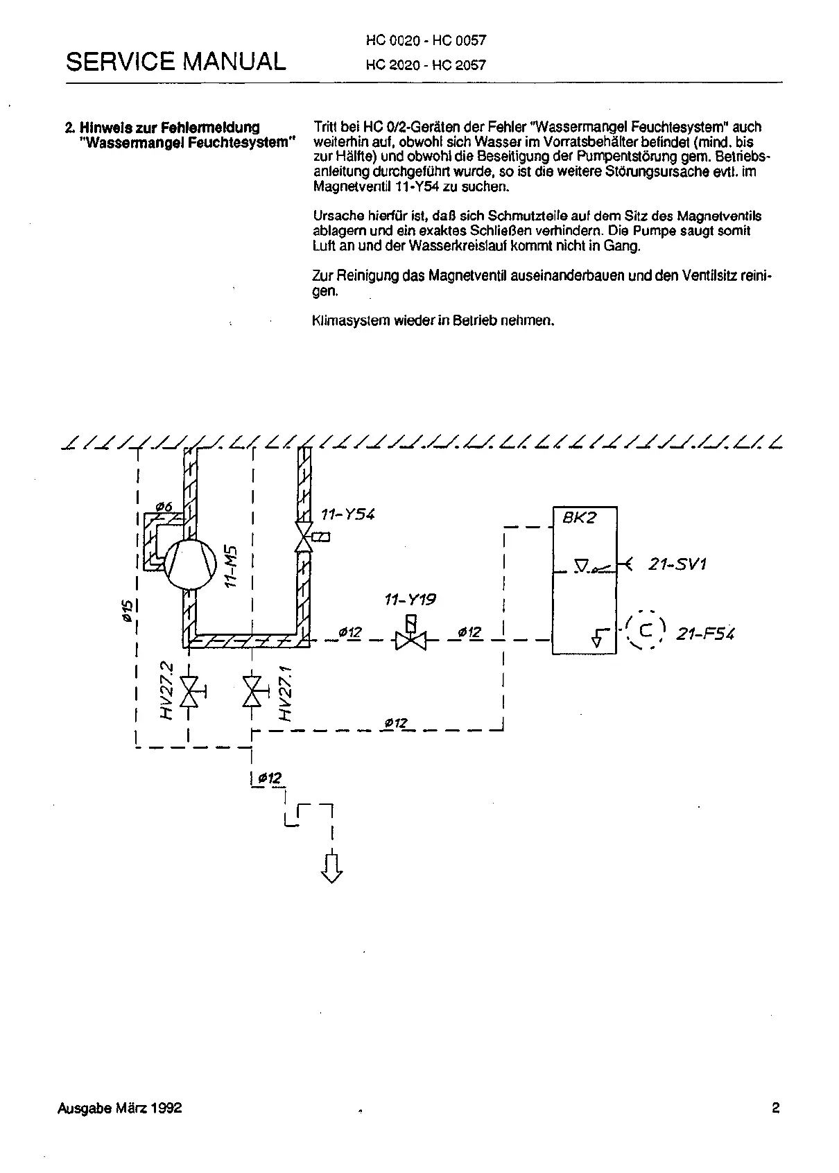
2.
Hinweis
zur
Fehlermeldung
"Wassermangel Feuchtesystem"
Tritt
bei HC
0/2-Gera"ten
der
Fehler "Wassermangel Feuchtesystem" auch
weiterhin auf, obwohl sich Wasser
im
VorratsbehaMter befindet (mind,
bis
zur Halfte) und obwohl die Beseitigung
der
Pumpentstorung gem. Betriebs-
anleitung durchgefuhrt wurde,
so ist die
weitere Storungsursache
evtl.
im
Magnetventil 11-Y54
zu
suchen.
Ursache hierfur ist,
da0
sich Schmutzteile
auf
dem Sitz des Magnetventils
ablagern und
ein
exaktes SchlieBen verhindem.
Die
Pumpe saugt somit
Luft
an
und der Wasserkreislauf kommt nicht
in
Gang.
Zur Reinigung das Magnetventil auseinanderbauen und den Ventilsitz
reini-
gen.
Klimasystem wieder
in
Betrieb nehmen.
11-Y19
21-5V1
.
<- ;
21-F54
_012_
|
AusgabeMarz
1992

Related product manuals