EasyManua.ls Logo

HIKVISION iDS-2CD9136-AIS - Chapter 1 Network Connection

HIKVISION iDS-2CD9136-AIS
20 pages
To Next Page IconTo Next Page
To Next Page IconTo Next Page
To Previous Page IconTo Previous Page
To Previous Page IconTo Previous Page
Loading...
Network Traffic Camera • Quick Start Guide
7
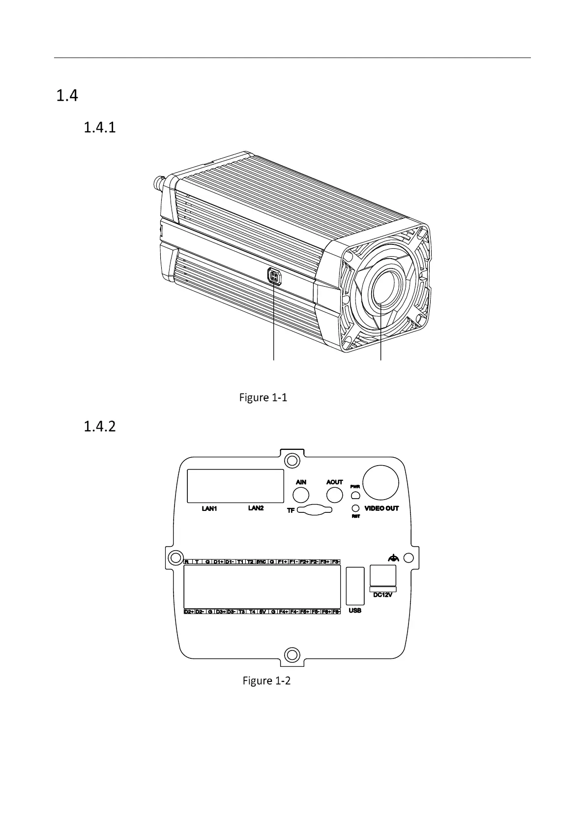
Appearance and Interfaces
Appearance
Auto Iris Interface Lens
Appearance
Rear Panel
- +
Rear Panel

Other manuals for HIKVISION iDS-2CD9136-AIS

Related product manuals