EasyManua.ls Logo

Hitachi G12SR2 - Page 6

Hitachi G12SR2
8 pages
Print Icon
To Next Page IconTo Next Page
To Next Page IconTo Next Page
To Previous Page IconTo Previous Page
To Previous Page IconTo Previous Page
Loading...
5
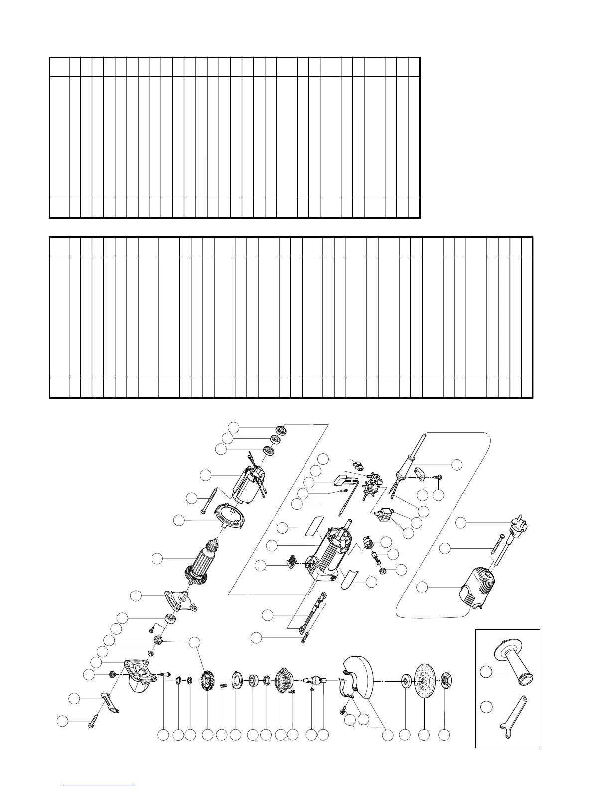
Item
Part Name
Qty
No.
1 TAPPING SCREW D5 × 25 1
2 GUARD PLATE 1
3 PUSHING BUTTON 1
4 GEAR COVER ASS
Y
1
5 SPECIAL NUT M7 1
6 PINION 1
7
SLOTTED HD. SCREW
(SEAL LOCK) M4 × 10
2
8
BALL BEARING
608VVC2PS2L
1
9 INNER COVER 1
10 ARMATURE 1
11 FAN GUIDE 1
12
HEX. HD. TAPPING
SCREW D4 × 70
2
13 STATOR 1
14 DUST SEAL 2
15
BALL BEARING
626VVC2PS2L
1
16 RUBBER BUSHING 1
17 LOCK PIN 1
18
RETAINING RING
FOR D11 SHAFT
1
19 WAVE WASHER 1
20 GEAR 1
21
SEAL LOCK SCREW
(W/SP. WASHER) M4 × 10
3
22 BEARING COVER (B) 1
23
BALL BEARING
6001VVCMPS2L
1
24 FELT PACKING 1
25 PACKING GLAND 1
26
SEAL LOCK SCREW
(W/SP. WASHER) M4 × 12
4
27 WOODRUFF KEY 1
28 SPINDLE 1
29
MACHINE SCREW
(W/SP. WASHER) M5 × 16
2
30 SET PLATE 1
31 WHEEL GUARD ASS
Y
1
32 WHEEL WASHER 1
33 D. C. WHEELS 1
Item
Part Name
Qty
No.
34 WHEEL NUT M14 1
35 GEAR AND PINION SET 1
36 SLIDE KNOB 1
37 HOUSING ASS
Y
1
38 NAME PLATE 1
39 EARTH TERMINAL 1
40 TERMINAL 1
41 NOISE SUPPRESSOR 1
42 SWITCH HOLDER 1
43 PILLAR TERMINAL 1
44 SPRING 1
45 SLIDE BAR 1
45 SLIDE BAR 1
46 HITACHI LABEL 1
47 BRUSH CAP 2
48 CARBON BRUSH 2
49 BRUSH HOLDER 2
50 SWITCH 1
51
MACHiNE SCREW
(W/WASHER) D3.5 × 6
2
52 TERMINAL 1
53 CORD CLIP 1
54
TAPPING SCREW
(W/FLANGE) D4 × 16
1
55 CORD ARMOR 1
56 TAIL COVER 1
57
TAPPING SCREW
(W/FLANGE) D4 × 45
4
58 CORD 1
501 WRENCH 1
502 SIDE HANDLE 1
501
502
1
2
3
4
6
7
5
8
9
10
17
18
19
20
21
22
23
24
25
26
27
28
29
30
31
32
33
34
35
36
38
37
39
40
41
42
43
44
45
46
47
48
49
50
51
52
53
54
55
56
57
58
11
12
14
15
16
13

Related product manuals