EasyManua.ls Logo

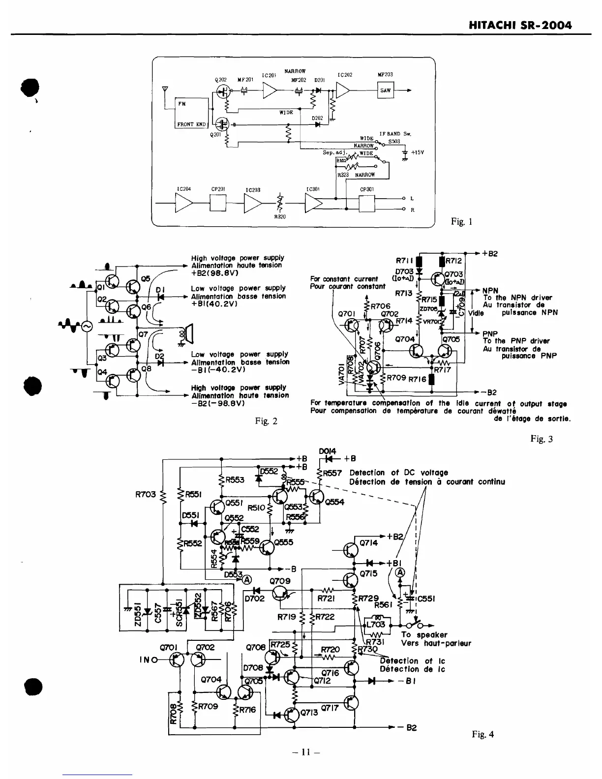
Hitachi SR-2004 - Idle Current Compensation Circuit Against Power Supply Voltage Fluctuations; Protection Circuits

Hitachi SR-2004
Print Icon
To Next Page IconTo Next Page
To Next Page IconTo Next Page
To Previous Page IconTo Previous Page
To Previous Page IconTo Previous Page
Loading...

Related product manuals