EasyManua.ls Logo

Hitech PWS-1711 - Page 8

Hitech PWS-1711
25 pages
Print Icon
To Next Page IconTo Next Page
To Next Page IconTo Next Page
To Previous Page IconTo Previous Page
To Previous Page IconTo Previous Page
Loading...
About PWS1711/1760
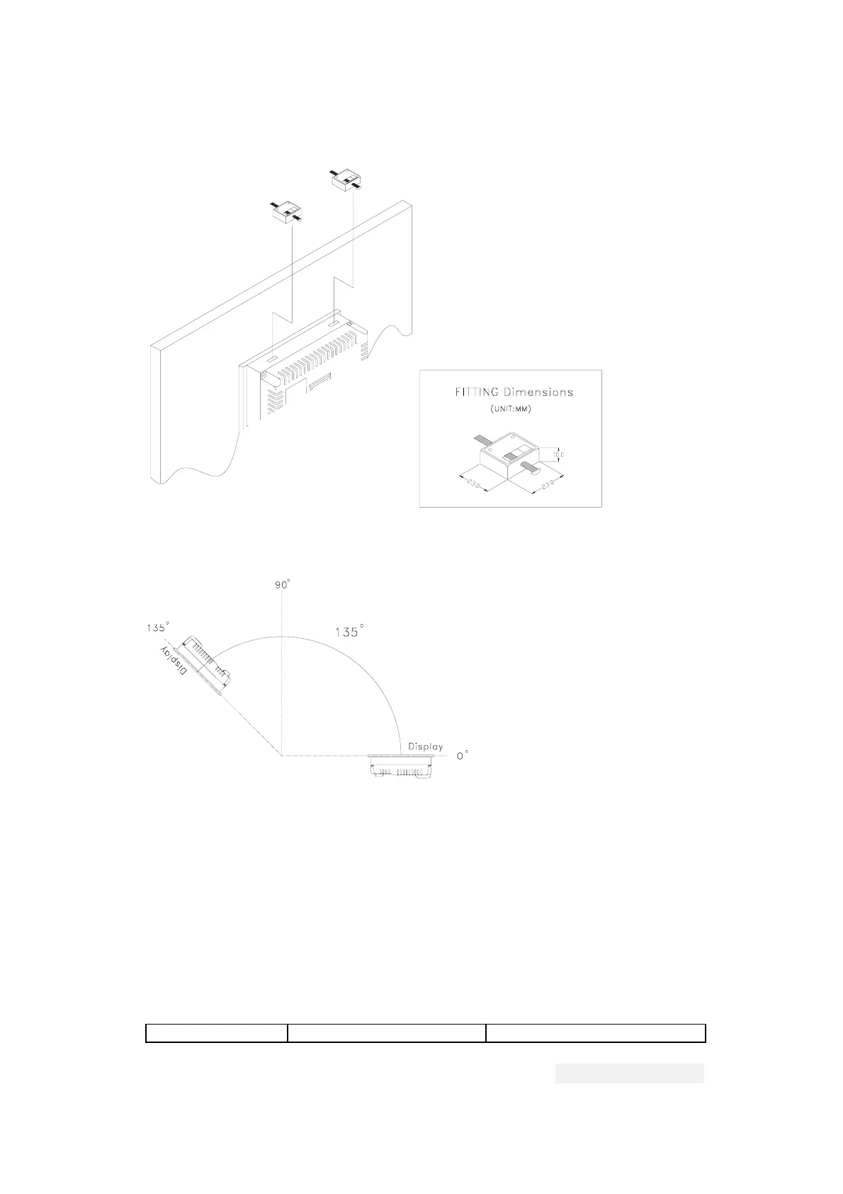
The unit shall be installed within the angle of 0 to
135 degrees as shown below.
G.3.2 Torque Specifications
After placing the Workstation in the cutout, you should
tighten each nut to 0.07 newton-meters (10 inch/pounds) of
torque. If you don't have a torque wrench, then try to
tighten the nuts to compress the gasket to about 50% of its
original thickness.
G.4. Power Connector
The three-position power connector accepts 24VDC only. The
unit's power consumption is shown in the following:
Item / Model 1711-STN 1760-CTN
Hitech Electronics Corp.
G-7