EasyManua.ls Logo

HOLOSUN HS 403B - Page 29

HOLOSUN HS 403B
Print Icon
To Next Page IconTo Next Page
To Next Page IconTo Next Page
To Previous Page IconTo Previous Page
To Previous Page IconTo Previous Page
Loading...
29
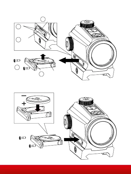
Fig. 3
Screws
Screws
Baery
compartment
Slot
1
4
O-ring
5
2
3
Fig. 2

Related product manuals