EasyManua.ls Logo

HOLOSUN HS 403B - Page 7

HOLOSUN HS 403B
Print Icon
To Next Page IconTo Next Page
To Next Page IconTo Next Page
To Previous Page IconTo Previous Page
To Previous Page IconTo Previous Page
Loading...
7
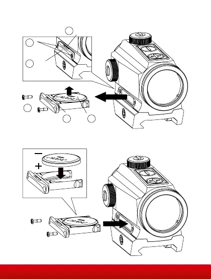
Abb. 3
Schrauben
Schrauben
Baeriefach
Schlitz
1
4
O-Ring
5
Baerie
6
2
3
Abb. 2

Related product manuals