EasyManua.ls Logo

Honeywell Minipeeper C7027A - Page 7

Honeywell Minipeeper C7027A
12 pages
Print Icon
To Next Page IconTo Next Page
To Next Page IconTo Next Page
To Previous Page IconTo Previous Page
To Previous Page IconTo Previous Page
Loading...
MINIPEEPER® ULTRAVIOLET FLAME DETECTORS
7 60-202610
Swivel Mount
To facilitate proper sighting of the flame, a swivel mount (part
no. 118367A) is available. The swivel mount will require a 3/4
to 1/2 in. reducer and a 1/2 in. close nipple to mount a
C7027A, or a 1 in. pipe at least 2-1/2 in. [63.5 mm] long to
mount a C7035A. For mounting details, refer to form 60-0361
for the 118367A Swivel Mount.
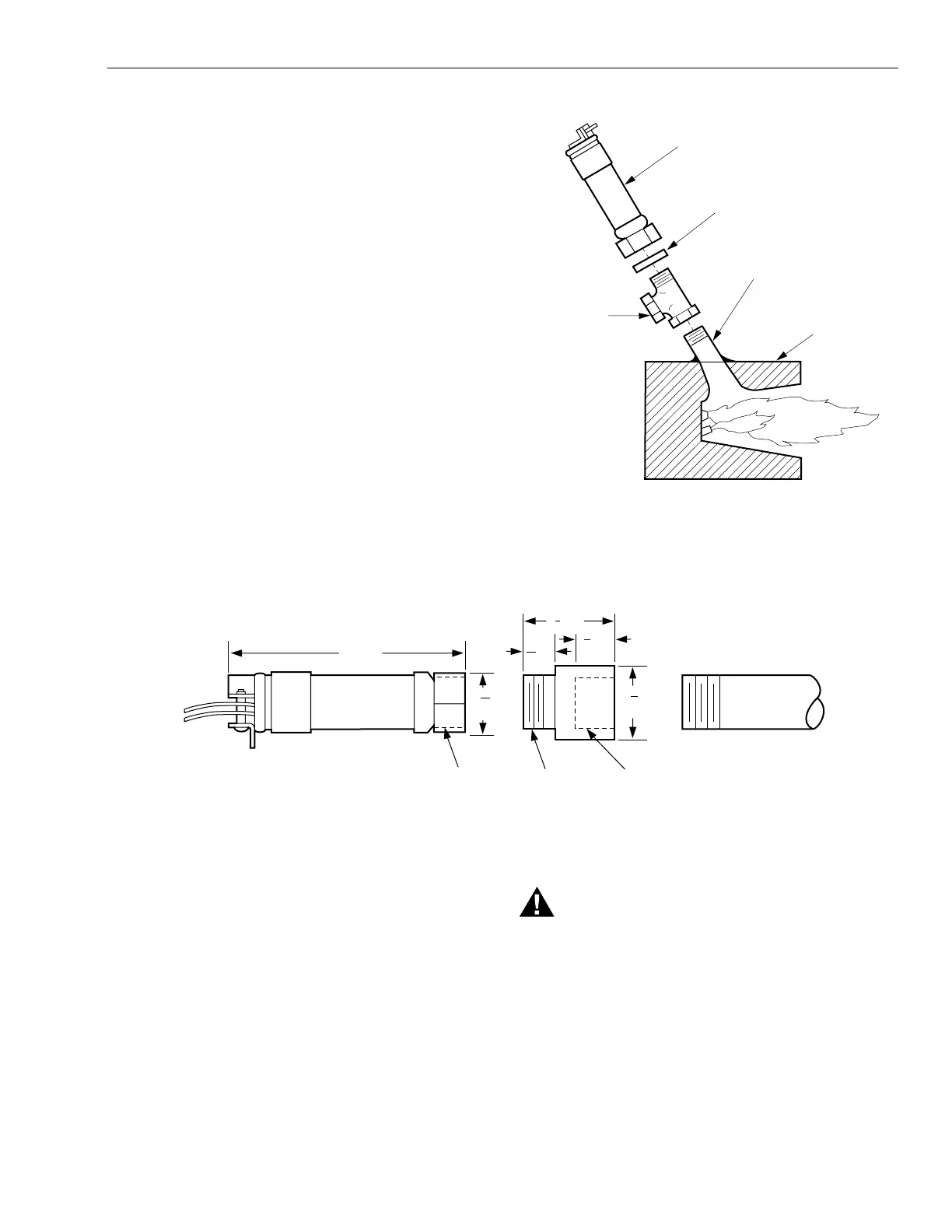
Mount The Detector (Fig. 7)
Mount the detector onto the sight pipe, pipe tee, nipple, or
other fitting. Make sure the flange gasket is in place inside the
mounting collar on the detector, and then screw the collar onto
the sight pipe or fitting.
NOTE: If a window is installed between the UV detector and
the flame, it must be fabricated from quartz or fused
silica. Ordinary glass filters out ultraviolet radiation.
Using a Heat Block With a C7027 (Fig. 8)
If the temperature of the sight pipe will become high enough to
cause the C7027A to overheat (above 215°F (102°C) up to
266°F (130°C), screw a 136733 Heat Block (order separately)
onto the sight pipe before mounting the detector.
Fig. 6. Mounting a C7027A or C7927A on a
combustion chamber (viewed from above).
C7035A mounting is similar.
Fig. 7. Mounting dimensions of 136733 Heat Block in in. (mm).
Mounting a C7044A On a Blast Tube (Fig. 9)
The C7044 is designed to be mounted on the blast tube of a
burner. The exact location should be determined by the burner
manufacturer. Contact the manufacturer before making any
modifications to the installation.
WARNING
Explosion Hazard.
Can cause serious injury or property damage.
The C7044 will allow air leakage through its housing.
Do not locate the C7044 in an atmosphere of fuel
vapors under positive pressure. The C7027 or C7035
should be used if internal pressure sealoff is required.
M3021
C7027A (OR C7035A)
FLANGE
GASKET
BLACK IRON
SIGHT PIPE
COMBUSTION
CHAMBER
WALL
ADD PIPE TEE,
PERFORATED
NIPPLE, OR OTHER
SUITABLE DEVICE
FOR VENTILATION,
IF REQUIRED.
1
[27]
1
16
4 [102]
1
[32]
1
4
5
8
9
16
[14]
[16]
5
8
1 [41]
C7027A DETECTOR
136733 HEAT BLOCK
1/2-INCH SIGHT PIPE
1/2-14 NPSM
INTERNAL
THREADS
1/2-14 NPSM
EXTERNAL
THREADS
1/2-14 NPSM
INTERNAL
THREADS
HIGH TEMPERATURES (ABOVE 215° F [102° C])
DO NOT USE FOR TEMPERATURES ABOVE 266° F [130°C]
M1942

Related product manuals