EasyManua.ls Logo

Honeywell T775A/B/M 2000 Series - RELAY CONFIGURATION; Setting Relay Type (Standard or Floating)

Honeywell T775A/B/M 2000 Series
36 pages
To Next Page IconTo Next Page
To Next Page IconTo Next Page
To Previous Page IconTo Previous Page
To Previous Page IconTo Previous Page
Loading...
T775A/B/M SERIES 2000 ELECTRONIC STAND-ALONE CONTROLLERS
27 62-0254—13
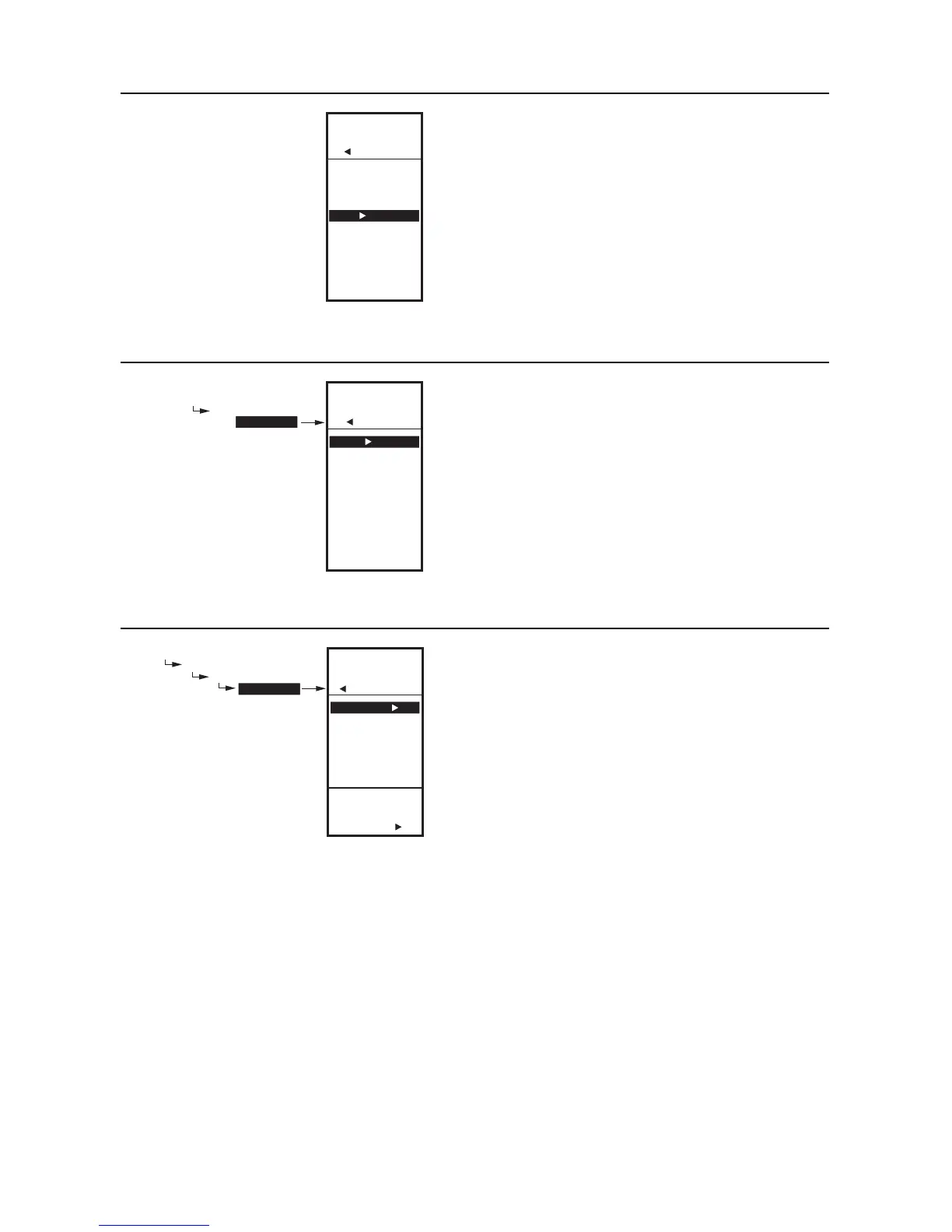
Fig. 63. Setup - Outputs - Options - Exit.
2.3.3.6. Exit Options Setup
Press the button (or highlight EXIT and press the
button) to exit and return to the Outputs menu.
Continue with “2.3.4. Setting up the Relays”
Fig. 64. Setup - Outputs - Relay Menu.
2.3.4. Setting up the Relays
1. From the Outputs menu, use the and but-
tons to highlight the desired relay (1-4 depending on
model).
2. Press the
button to display the selected relay
menu.
The TYPE selection shown in Fig. 64 displays only for
Relay 1 and Relay 3.
Continue with the remainder of section 3.4 to setup the
relay outputs.
Fig. 65. Setup - Outputs - Relay - Type.
2.3.4.1. TYPE (standard or floating)
The Floating option is only available on the T775B2016,
T775B2024, T775B2032, and T775B2040 models.
For these models, this selection displays only for Relay 1
and/or Relay 3.
1. Press the
button to display the Type values.
2. Use the
and buttons to select STANDARD
OR FLOATING.
Default: STANDARD (not floating)
3. Press the
button to accept the value and return
to the Relay menu.
If you select FLOATING, the relays are paired (1-2 or 3-4)
and are setup together. Continue with “2.3.4.1.1. Floating
Relay Menu”.
If you select STANDARD, go to “2.3.4.2. SCHEDULE” on
page 29.
SETUP
OUTPUTS
OPTIONS
USE SCHED
MIN OFF
DI OPTION
SHOW RT
EXIT
M24525
SETUP
OUTPUTS
RELAY 1
SETUP
OUTPUTS
RELAY 1
TYPE
SCHEDULE
RESET
RESET RT
EXIT
M24526
SETUP
OUTPUTS
RELAY 1
TYPE
SETUP
OUTPUTS
RELAY 1
TYPE
SELECT
TYPE FOR
RELAY 1
STANDARD
FLOATING
M24527

Table of Contents

Related product manuals