EasyManua.ls Logo

Hotpoint BE82 - Page 13

Hotpoint BE82
24 pages
Print Icon
To Next Page IconTo Next Page
To Next Page IconTo Next Page
To Previous Page IconTo Previous Page
To Previous Page IconTo Previous Page
Loading...
Using Your Hob
13
NOTE: Your hob is equipped with 4 residual heat indicators. The power indicator for each
heating zone shows
H
while the temperature of the heating zone exceeds 60˚C after
the power is switched off. This helps prevent the risk of burns.
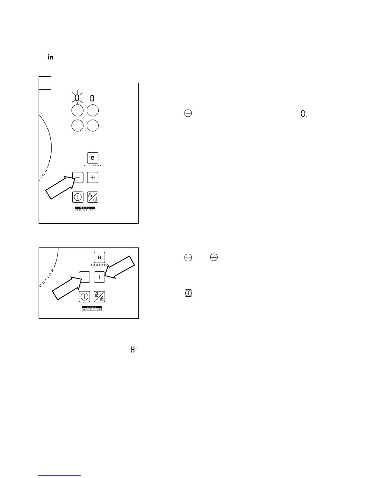
4
Press the key until the power level returns to
0
’.
To switch off the hob at the end of cooking:
Press the and keys simultaneously to switch off
the hob.
Press the key.
OR
0
0
Using the heating zones:

Related product manuals