EasyManua.ls Logo

HP 3150 - Page 234

HP 3150
272 pages
Print Icon
To Next Page IconTo Next Page
To Next Page IconTo Next Page
To Previous Page IconTo Previous Page
To Previous Page IconTo Previous Page
Loading...
232 Parts and diagrams
EN
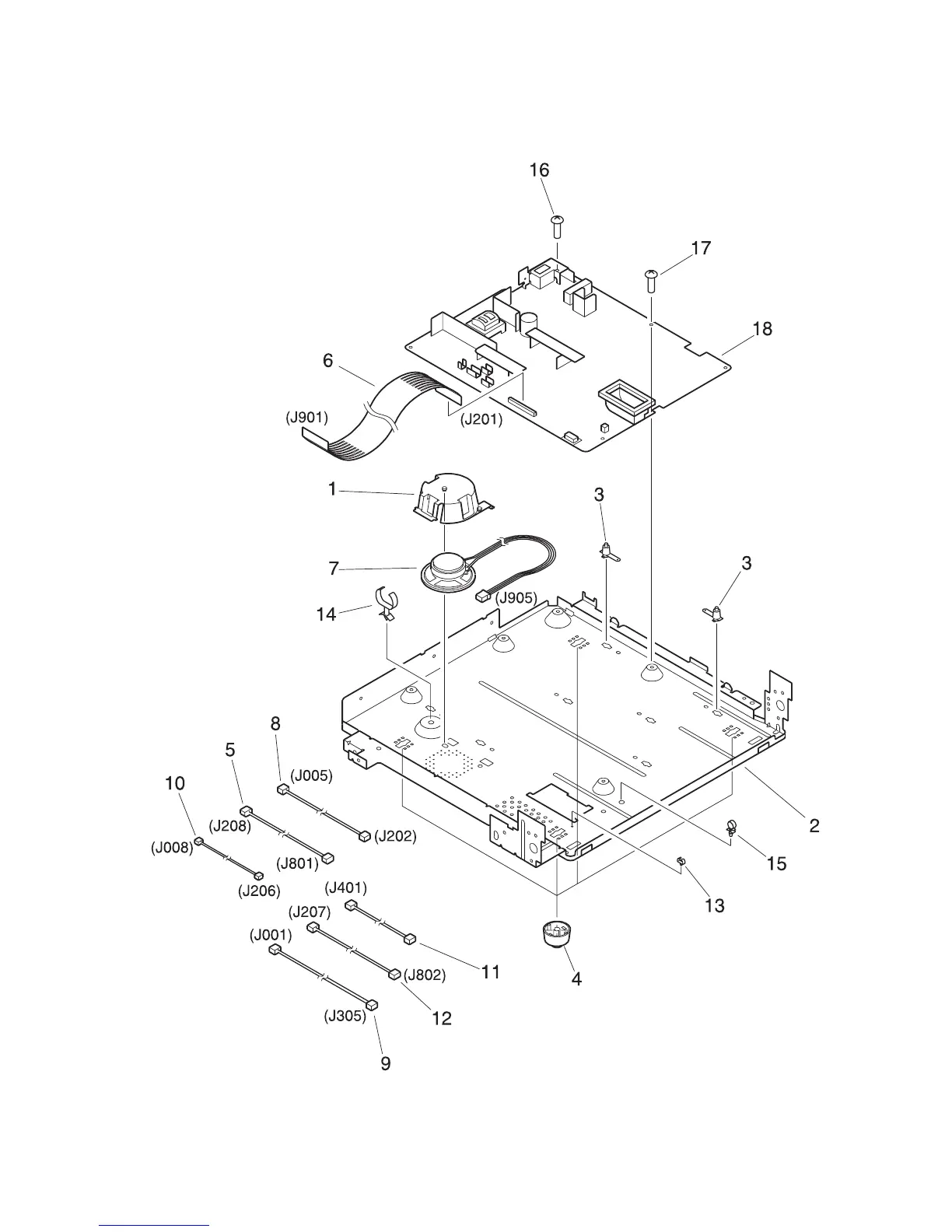
Figure 95. Electrical components assembly

Related product manuals