EasyManua.ls Logo

HP 3500 Series - Page 133

HP 3500 Series
554 pages
Print Icon
To Next Page IconTo Next Page
To Next Page IconTo Next Page
To Previous Page IconTo Previous Page
To Previous Page IconTo Previous Page
Loading...
ENWW Engine control system 119
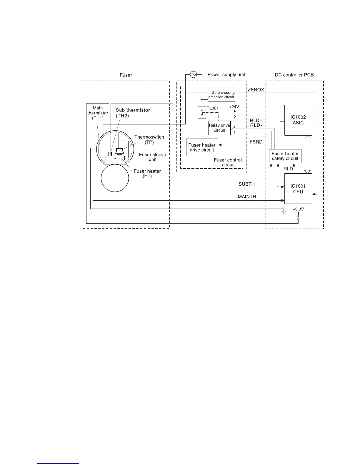
Heater temperature control
The heater temperature control controls the drive signals of the fuser heater to monitor and
maintain the surface temperatures of the fuser sleeve and the fuser heater at the target
temperature.
Figure 5-12 Heater temperature control circuit
Two thermistors monitor fuser (fixing) heater temperature:
Main thermistor (TH1): Monitors the print temperature and the between-sheets temperature.
It is placed in contact with the inside surface of the fuser sleeve and monitors the sleeve
temperature.
Sub thermistor (TH2): Monitors the temperature rise at the end, the initial rotation
temperature, and the start-up temperature. It is placed in contact with the fuser heater.
As the surface temperature of the fuser heater rises, the resistances of both thermistors reduce
and the voltage of the FUSER HEATER TEMPERATURE DETECTION signals (MAINTH,
SUBTH) varies.
The CPU (IC1001) on the DC controller monitors the voltage of these two signals (MAINTH,
SUBTH) and accordingly sends the FUSER HEATER DRIVE signal (FSRD) via the ASIC (C1002).
Based on this signal, the fuser heater drive circuit controls and maintains the fuser heater at the
specified temperature.

Other manuals for HP 3500 Series

Related product manuals