EasyManua.ls Logo

HP 3500 Series - Page 136

HP 3500 Series
554 pages
Print Icon
To Next Page IconTo Next Page
To Next Page IconTo Next Page
To Previous Page IconTo Previous Page
To Previous Page IconTo Previous Page
Loading...
122 Theory of operation ENWW
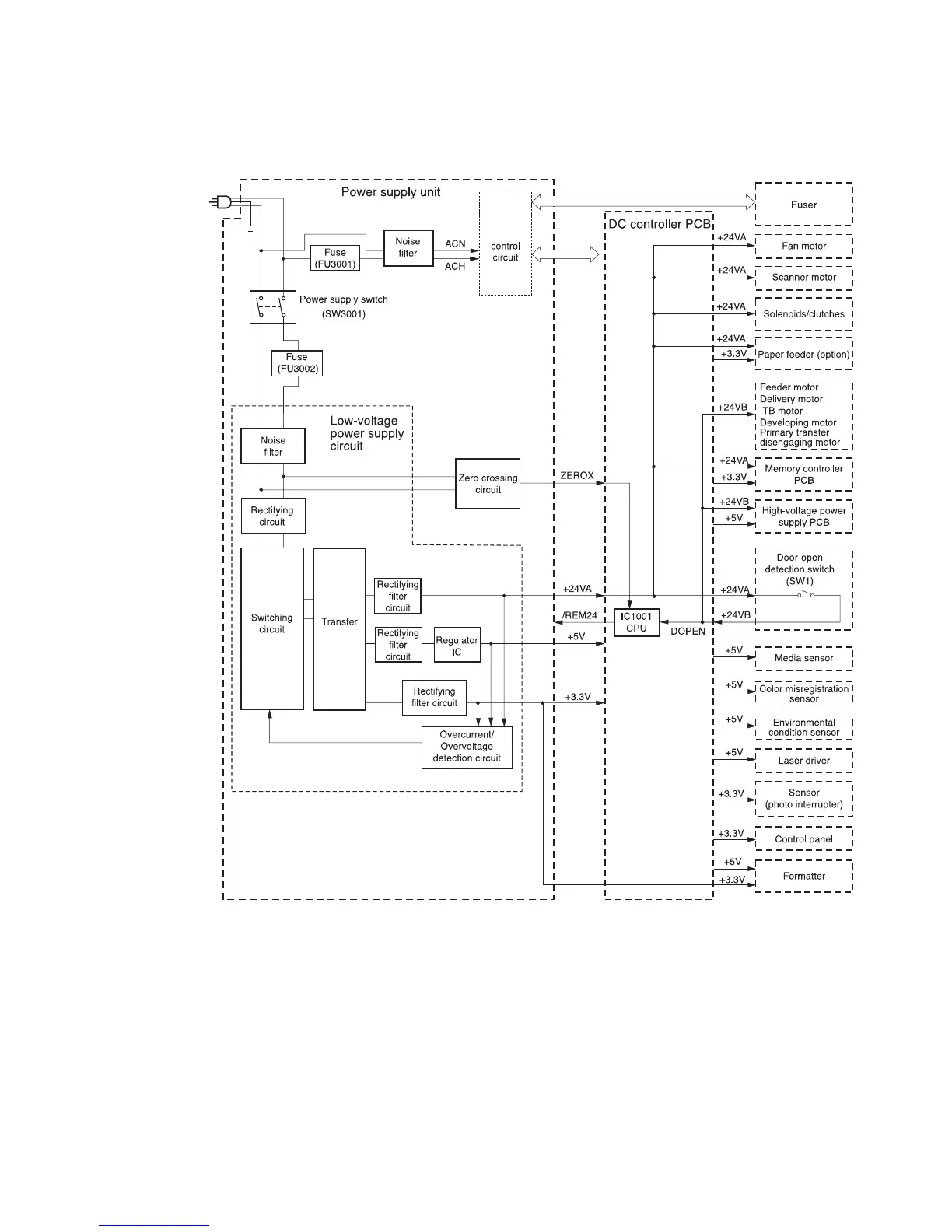
Low-voltage power supply circuit
This circuit converts AC voltage from the power supply receptacle to DC power and supply each
load.
Figure 5-13 Low-voltage power supply circuit
When the power switch (SW3001) is turned on, the AC power is supplied to the low-voltage power
supply circuit, where it is converted to +24 V, +5 V, and +3.3 V DC power required inside the
printer.

Other manuals for HP 3500 Series

Related product manuals