EasyManua.ls Logo

HP 416A - Page 15

HP 416A
109 pages
Print Icon
To Next Page IconTo Next Page
To Next Page IconTo Next Page
To Previous Page IconTo Previous Page
To Previous Page IconTo Previous Page
Loading...
-E
II-28=120°
./
E,
1
-E
1
100
% REFLECTION
50
% REFLECTION
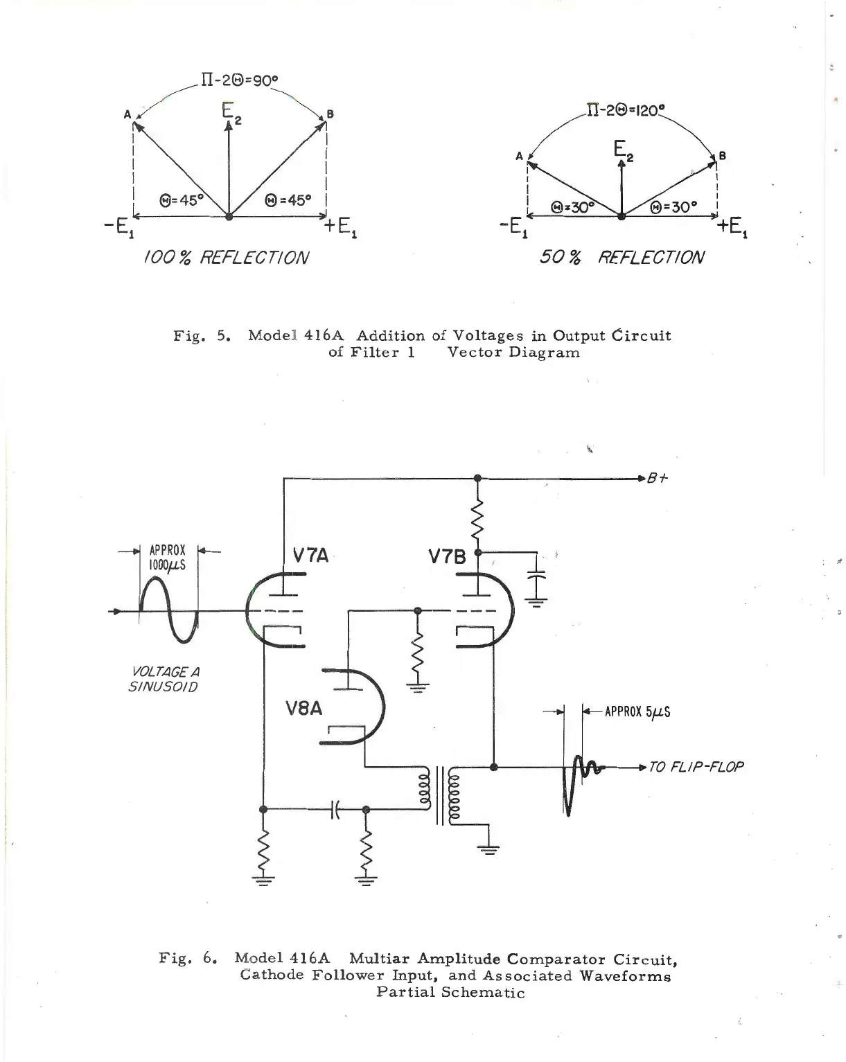
Fig.
5.
Mod
el
416A
Addition
of
Voltages
in
Output
Circuit
VOLTAGE
A
SINUSOID
of
Filter
1
Vector
Diagram
I
l
APPROX
5µ.S
B
~-------_..,.-+1i,.....--.
TO
FLIP-
FLOP
Fig.
6.
Model
·416A
Multiar
Amplitude
Comparator
Circuit,
Cathode
Follower
Input,
and
Associated
Waveforms
Partial
Schematic

Related product manuals