EasyManua.ls Logo

HP 416A - Page 91

HP 416A
109 pages
Print Icon
To Next Page IconTo Next Page
To Next Page IconTo Next Page
To Previous Page IconTo Previous Page
To Previous Page IconTo Previous Page
Loading...
R94
(REF.)
®
C6
I
iiF
I
C54
R88
R93
120
R89
C57
@
~I
-1
I
@
~,
I
-
RB6
R96
(REF.)
RBS
SI
I
I
I
R87
8200
I
I
I
I
I
RI03'\/V\;2200
I
@>
lQJ
JI
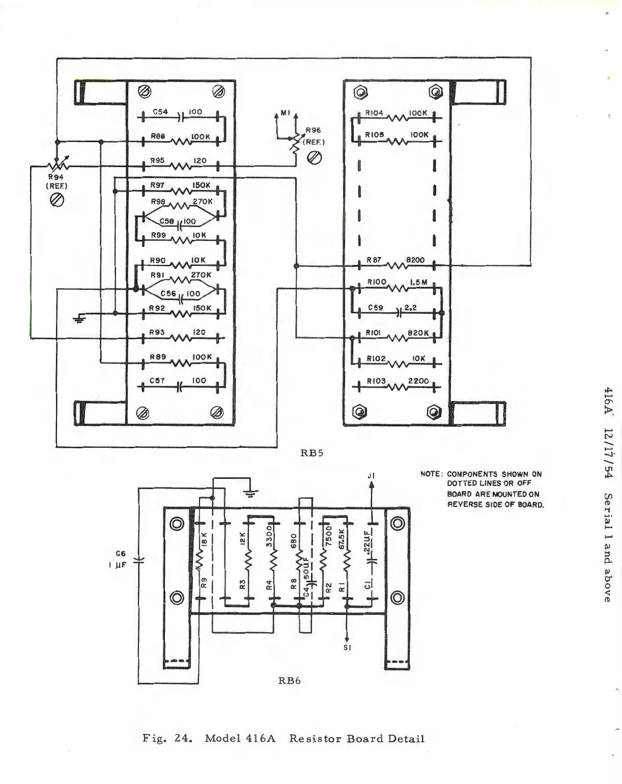
NOTE
: COMPONENTS
SHOWN
ON
DOTTED LINES
OR
OFF
BOARD
ARE MOUNTED
ON
REVERSE SIDE OF BOARD.
....
1
@
~,
1
T
@
Fig.
24.
Model
416A
Resistor
Board
Detail
*"'
I-'
a-
:i>
,
I-'
N
-
I-'
-.J
-
\J1
*"'
C/l
ro
....,
.....
Ill
I-'
I-'
Ill
:.;
p.
~
O"
0
<
ro

Related product manuals