EasyManua.ls Logo

HP 416A - Page 93

HP 416A
109 pages
Print Icon
To Next Page IconTo Next Page
To Next Page IconTo Next Page
To Previous Page IconTo Previous Page
To Previous Page IconTo Previous Page
Loading...
~
<ii
w
en
Ill
l&I
0::
~~
.J
w
0::
Dz
"'o
I=
0
ow
c~
zZ
o=>
zo
3:
~
0 l&I
:x:
a:
(/)
<l
~~
~~
zm
0
IL.
~~
0
a:
<..>
0
w
~
0
z
C53
,047UF
(/)
Cl
::>
.J
0::
0
IL.
0::
w
tr.J
0
0
<..>
a:
0
.J
0
<..>
0
......
~
:..:
9
<..>
<l
0
.J
_J
w l&I
m
a:
>-
"
"
"
<l
m
<..>
(;J
\
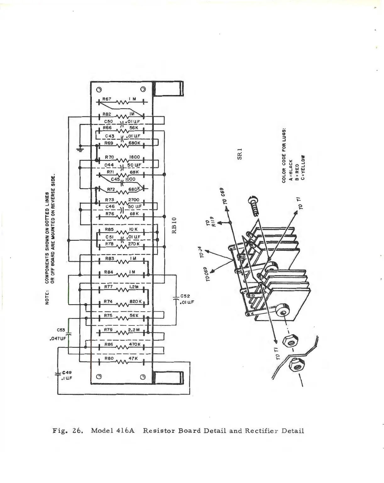
Fig.
26.
Model
416A
Resistor
Board
Detail
and
Rectifie
r D
etail

Related product manuals