EasyManua.ls Logo

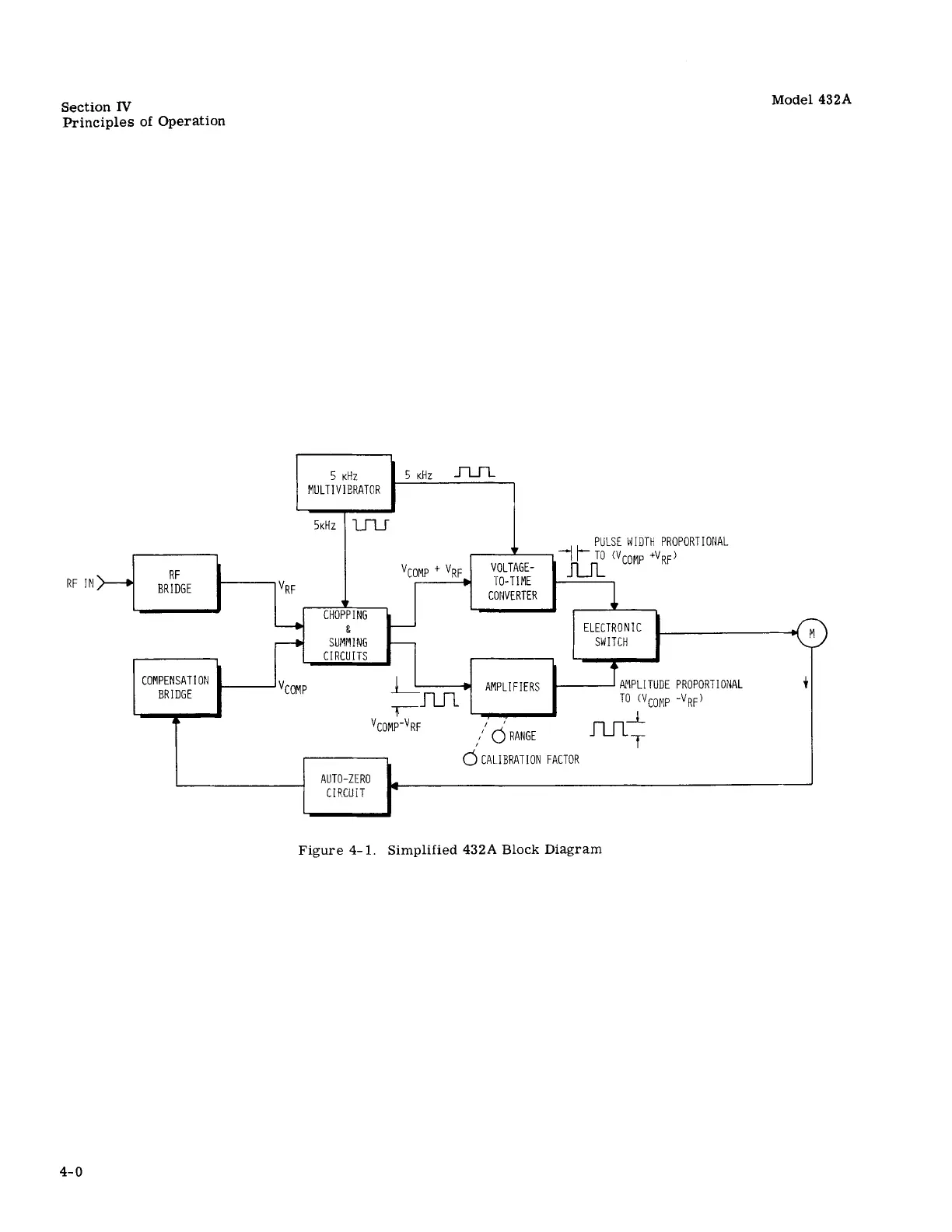
HP 432A - Section IV: Principles of Operation; 4-1. Simplified Description; 4-5. Functional Block Diagram

HP 432A
78 pages
Print Icon
To Next Page IconTo Next Page
To Next Page IconTo Next Page
To Previous Page IconTo Previous Page
To Previous Page IconTo Previous Page
Loading...

Table of Contents

Related product manuals