EasyManua.ls Logo

HP 8901B - Page 169

HP 8901B
290 pages
Print Icon
To Next Page IconTo Next Page
To Next Page IconTo Next Page
To Previous Page IconTo Previous Page
To Previous Page IconTo Previous Page
Loading...
Model
8901B
Replaceable
Parts
N
r
k:
H
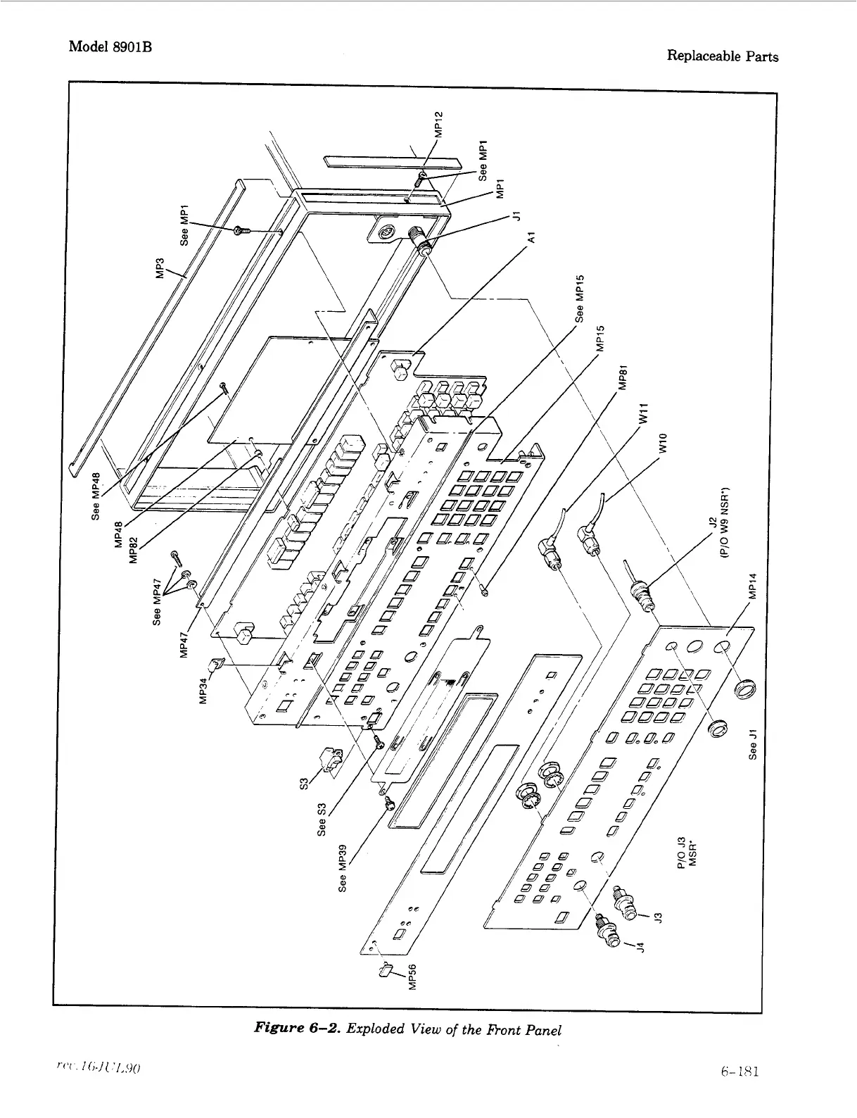
Figure
6-2.
Exploded View
of
the
l+ont
Panel

Other manuals for HP 8901B

Related product manuals